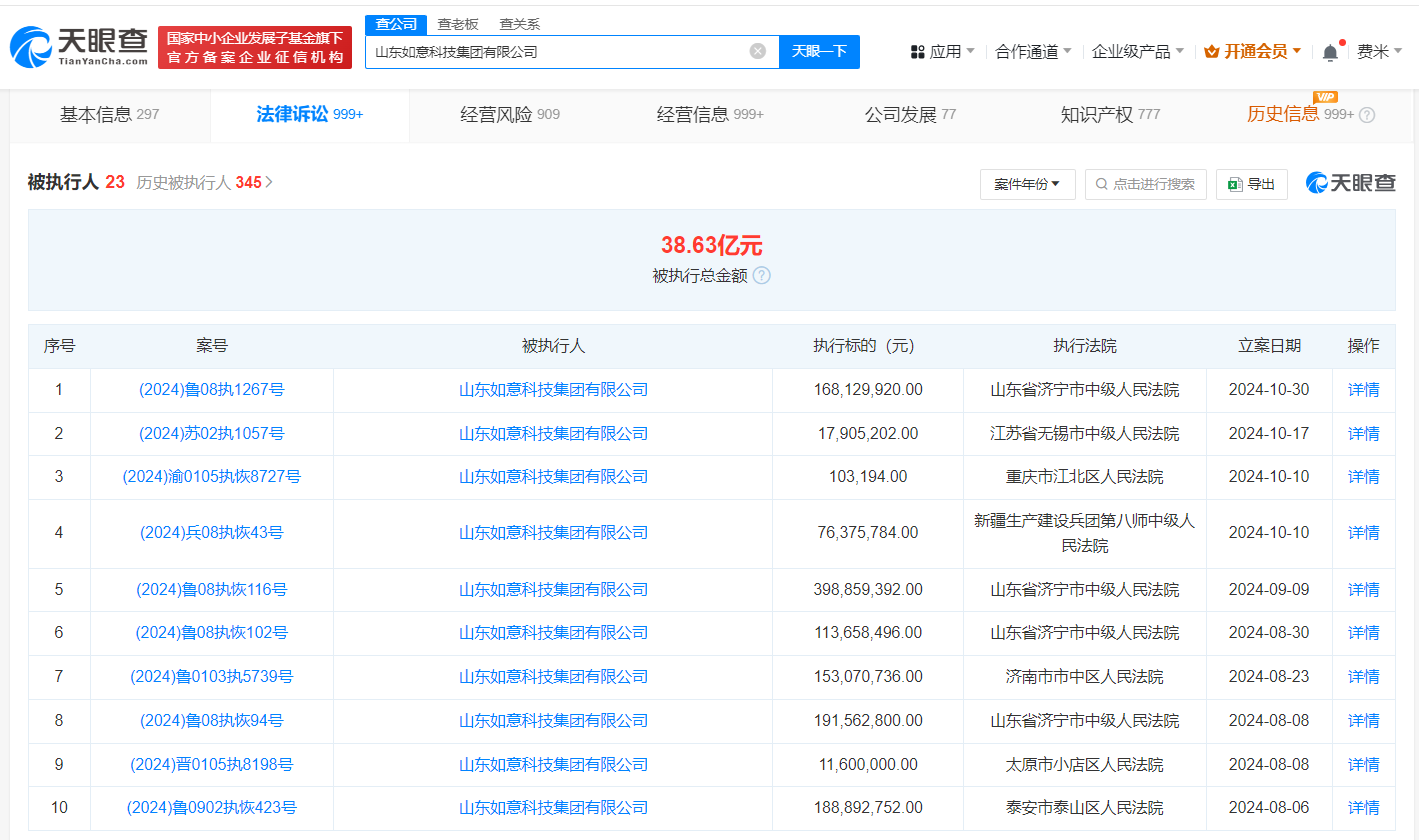
天眼查法律诉讼信息显示,10月30日,山东如意科技集团有限公司、宁波梅山保税港区鸿启投资管理合伙企业(有限合伙)新增一则被执行人信息,执行标的1.68亿余元,执行法院为山东省济宁市中级人民法院。
风险信息显示,山东如意科技集团有限公司现存23条被执行人信息,被执行总金额超38亿元,此外还存在多条限制消费令、失信被执行人(老赖)及终本案件信息。



原创文章,作者:,如若转载,请注明出处:https://knewsmart.com/archives/315160
如意科技集团等被强制执行1.68亿
天眼查法律诉讼信息显示,10月30日,山东如意科技集团有限公司、宁波梅山保税港区鸿启投资管理合伙企业(有限合伙)新增一则被执行人信息,执行标的1.68亿余元,执行法院为山东省济宁市中级人民法院。
风险信息显示,山东如意科技集团有限公司现存23条被执行人信息,被执行总金额超38亿元,此外还存在多条限制消费令、失信被执行人(老赖)及终本案件信息。



原创文章,作者:,如若转载,请注明出处:https://knewsmart.com/archives/315160