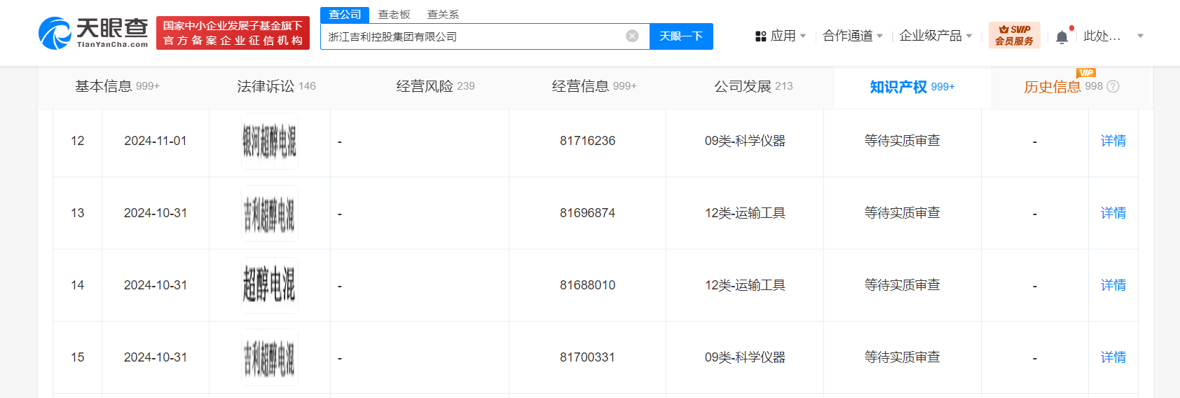
天眼查知识产权信息显示,近日,浙江吉利控股集团有限公司申请注册“超醇电混”“吉利超醇电混”“银河超醇电混”商标,国际分类为运输工具、科学仪器,当前商标状态均为等待实质审查。
据媒体报道,近期,吉利控股集团董事长李书福在2024绿色甲醇能源产业发展论坛上表示,在乘用车领域,吉利下一代甲醇乘用车采用“醇氢动力”的超醇电混技术。


原创文章,作者:,如若转载,请注明出处:https://knewsmart.com/archives/319931
吉利申请超醇电混商标 吉利申请银河超醇电混商标
天眼查知识产权信息显示,近日,浙江吉利控股集团有限公司申请注册“超醇电混”“吉利超醇电混”“银河超醇电混”商标,国际分类为运输工具、科学仪器,当前商标状态均为等待实质审查。
据媒体报道,近期,吉利控股集团董事长李书福在2024绿色甲醇能源产业发展论坛上表示,在乘用车领域,吉利下一代甲醇乘用车采用“醇氢动力”的超醇电混技术。


原创文章,作者:,如若转载,请注明出处:https://knewsmart.com/archives/319931