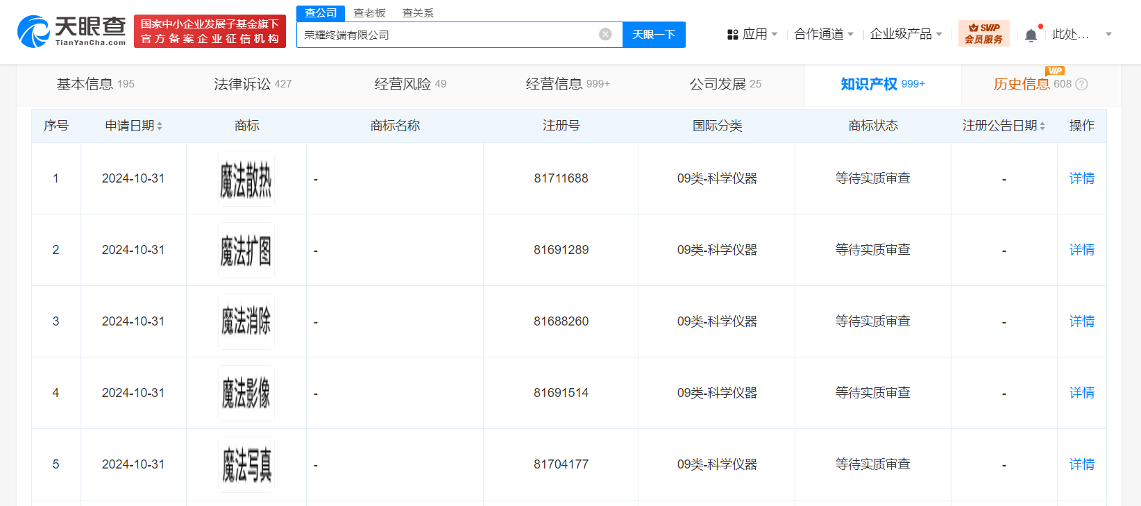
天眼查知识产权信息显示,近日,荣耀终端有限公司申请注册“魔法扩图”“魔法影像”“魔法散热”“魔法写真”“魔法消除”商标,国际分类均为科学仪器,当前商标状态均为等待实质审查。
公开信息显示,魔法大模型是荣耀自研端侧平台级AI大模型,于2024年1月10日发布。


原创文章,作者:,如若转载,请注明出处:https://knewsmart.com/archives/320339
荣耀申请魔法扩图商标 荣耀申请多枚魔法大模型应用商标
天眼查知识产权信息显示,近日,荣耀终端有限公司申请注册“魔法扩图”“魔法影像”“魔法散热”“魔法写真”“魔法消除”商标,国际分类均为科学仪器,当前商标状态均为等待实质审查。
公开信息显示,魔法大模型是荣耀自研端侧平台级AI大模型,于2024年1月10日发布。


原创文章,作者:,如若转载,请注明出处:https://knewsmart.com/archives/320339