-
创新给药机制,综合代谢获益!全球首个口服GLP-1RA诺和忻®(司美格鲁肽片)在中国全面上市
北京2025年1月13日 /美通社/ -- 全球领先的生物制药公司诺和诺德于近日宣布,全球首个口服胰高糖素样肽-1受体激动剂(GLP-1RA)——诺和忻®(司美格鲁肽片)在中国全面上市。诺和忻®以便利的口服给药方式,帮助患者更…
-
拜耳拿沃安®,芳华5周年!2.0新版本再续荣耀之路
北京2025年1月13日 /美通社/ -- 新岁望丰穰,犁开沃野忙。2025年1月10日,拜耳拿沃安®5周年荣耀庆典在云南昆明如期而至,正式宣布该经典产品组合迈入2.0阶段。广东天禾、安徽辉隆瑞美福、贵州格润惠通等拜耳合作伙…
-
自热植物基"韩牛"便当荣获2024亚太食品创新大赛冠军
上海2025年1月13日 /美通社/ -- 在2024 ProVeg亚太区食品创新大赛中,28支创新队伍共获得了15,500美元(超过11万元人民币)的现金奖励。今年的比赛中,学生们勇敢地探索了植物肉尚未涉足的领域,巧妙地利用本地多样…
-
华川冰钓节在江原道盛大开幕
韩国华川2025年1月13日 /美通社/ -- 韩国冬季热门活动——2025年华川山鳟鱼庆典(Hwacheon Sancheoneo Ice Festival)于上周六在东北部华川郡拉开帷幕,将举办为期近一个月的冰钓和季节性活动。 2025年1月11日,游客们…
-
珠海市国资数据技术公司登记成立 注册资本6000万
珠海市国资数据技术公司登记成立 注册资本6000万
-
理想汽车在厦门成立销售服务公司 含二手车经纪业务
理想汽车在厦门成立销售服务公司 含二手车经纪业务
-
正豪大大鸡排关联公司拟注销 正豪大大鸡排分支机构均注销
正豪大大鸡排关联公司拟注销 正豪大大鸡排分支机构均注销
-
华为申请注册智感窗商标
华为申请注册智感窗商标
-
广汇汽车所持155亿股权被冻结
广汇汽车所持155亿股权被冻结
-
绿地地产退出上海江瀚房地产公司
绿地地产退出上海江瀚房地产公司
-
章泽天英文名被申请注册为商标 章泽天公司申请注册Nancy Zhang商标
章泽天英文名被申请注册为商标 章泽天公司申请注册Nancy Zhang商标
-
华润环保投资公司增资至15.7亿 增幅约161%
华润环保投资公司增资至15.7亿 增幅约161%
-
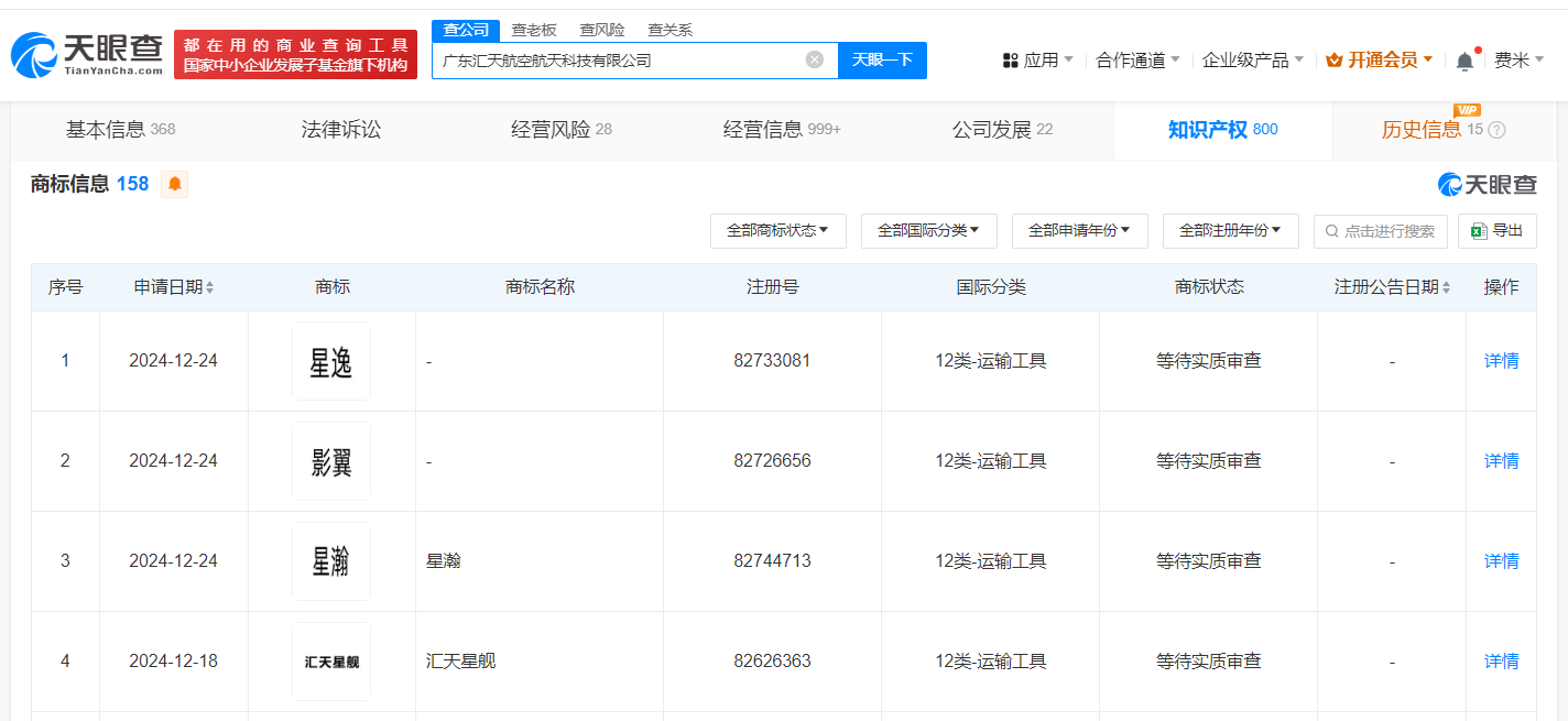
小鹏汇天申请注册汇天星舰商标
小鹏汇天申请注册汇天星舰商标
-
知识平台MitrEarth提供灾害预警
创新在线平台MitrEarth由朱拉隆功大学地质学系Santi Phailobli教授创建,自2019年推出以来,已成为灾害相关信息的可靠来源,吸引了超20万关注者。它利用地理信息系统工具和卫星数据绘制的地形图,帮助用户了解地形…
-
忆联持续迭代升级CSSD产品线
忆联即将推出消费级固态硬盘(CSSD)新品AM6B0,进一步拓展其产品矩阵,以应对AI PC所带来的全新存储需求。AM6B0采用新一代SM2268XT2主控及最新代际介质,可提供高达7100/6500 MB/s的顺序读写速度和1000K/940K IOPS…
-
移远通信助力玩具产业智能化升级
移远通信推出了针对玩具市场的AI智能解决方案。该方案结合移远无线通信解决方案的通信能力和全链路的音频AI算法,深度融合豆包等大模型的AI技术和数据资源,实现了智能玩具与云端AI能力的无缝对接,为传统玩具市场…
-
推动新质公益长效发展,太太乐"爱心厨房"创造共享价值
上海2025年1月13日 /美通社/ -- 目前,我国公益事业已经实现了从量到质的发展,在此背景下,由数央网、数央公益联合公众媒体共同举办的第十四届公益节暨2024 ESG影响力年会于1月9日至10日在北京隆重举行,以"共筑可…
-
AI大模型赋能!移远通信打造具有"超能力"的AI智能玩具解决方案
上海2025年1月13日 /美通社/ -- 随着无线通信、先进算法以及AI大模型等前沿技术的蓬勃发展,许多玩具已经从简单的互动设备进化为集教育、陪伴和娱乐功能于一身的AI智能玩具,在儿童群体中日渐风靡。不仅如此,因其…
-
首旅如家:温暖同行,助力日喀则震后救援与重建
上海2025年1月13日 /美通社/ -- 2025年1月7日,西藏日喀则市定日县发生6.8级地震,震源深度10千米,牵动着全国人民的心。面对突如其来的灾难,首旅如家酒店集团迅速响应,勇于担当责任,积极行动,全力支援灾区救援…
-
强生宣布首个用于治疗FGFR基因变异局部晚期或转移性尿路上皮癌患者的靶向药物[1]博珂® (厄达替尼片)在华获批
北京2025年1月13日 /美通社/ -- 强生公司今日宣布,旗下创新治疗药物博珂® (厄达替尼片)正式获得国家药品监督管理局批准,用于治疗携带易感型FGFR3基因变异,且既往接受至少一线含抗PD-1或抗PD-L1期间或之后出现疾…
-
电气风电在新疆成立新能源公司 注册资本1000万
电气风电在新疆成立新能源公司 注册资本1000万
-
国泰君安等成立君华孚创电子材料产业基金 出资额4.2亿
国泰君安等成立君华孚创电子材料产业基金 出资额4.2亿
-
百度入股北京小桨搏浪科技公司
百度入股北京小桨搏浪科技公司
-
南方电网国家电网成立藏粤直流电力运营公司 注册资本110亿
南方电网国家电网成立藏粤直流电力运营公司 注册资本110亿
-
绿地集团等被强制执行3.63亿
绿地集团等被强制执行3.63亿
-
兰石重装等成立储能技术公司 注册资本1000万
兰石重装等成立储能技术公司 注册资本1000万
-
洞察大模型需求,忆联持续完善CSSD矩阵
深圳2025年1月13日 /美通社/ -- 随着科技巨头纷纷加大布局力度,2024年正式揭开了AI PC时代的序幕。单是在2024下半年,英特尔将AI PC功能拓展至台式机领域,而苹果则通过为Macbook Pro全系配备高性能M4系列芯片,开…
-
高力国际:把握市场机遇 纵横ESGT创新战略
上海2025年1月13日 /美通社/ -- 自联合国全球契约组织(UNGC)提出ESG(环境、社会和公司治理)概念以来,ESG理念践行已成为全社会的共识和自觉行动。 在高质量发展要求及双碳目标战略目标指引下,ESG在中国的发展正…
-
夏伯渝先生走进华希 | 攀登者精神点亮学子梦想之路
厦门2025年1月13日 /美通社/ -- 12月23日,中国著名登山家夏伯渝先生走进华师希平双语学校,为全校师生带来一场意义非凡的励志讲座。普高部全体师生和部分家长代表共计800余人在艺术中心大礼堂现场聆听讲座,其他学…
-
拜耳在中国和美国同时递交非奈利酮心力衰竭适应症上市申请
非奈利酮(finerenone)是首个在针对左心室射血分数(LVEF)≥40% (即 LVEF轻度降低或保留)心力衰竭患者的 III 期临床研究中被证明有确切心血管获益的盐皮质激素受体(MR)拮抗剂[1]; 基于FINEARTS-HF III 期临床…