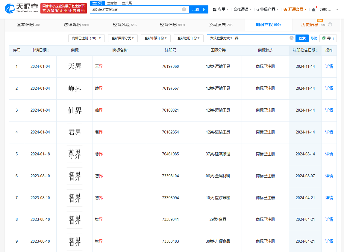
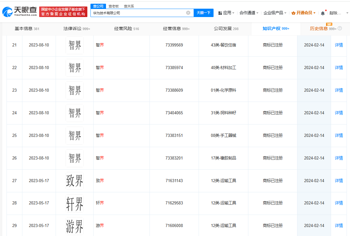
天眼查知识产权信息显示,近日,华为技术有限公司申请的“天界”“仙界”“君界”“峥界”商标成功注册,国际分类均为运输工具,上述商标均申请于今年1月。此前,该公司已成功注册“尊界”“智界”“致界”“轩界”等商标。
据媒体报道,近期,华为与江淮汽车携手打造的全新汽车品牌尊界,引发了业界的广泛关注。余承东在视频中自豪地介绍,尊界品牌的首款车型在尺寸上堪称惊艳,其长度达到了约5.5米,这一数据几乎超越了市面上99.99%的轿车,展现出无与伦比的豪迈与大气。


原创文章,作者:,如若转载,请注明出处:https://knewsmart.com/archives/318682
微信扫一扫