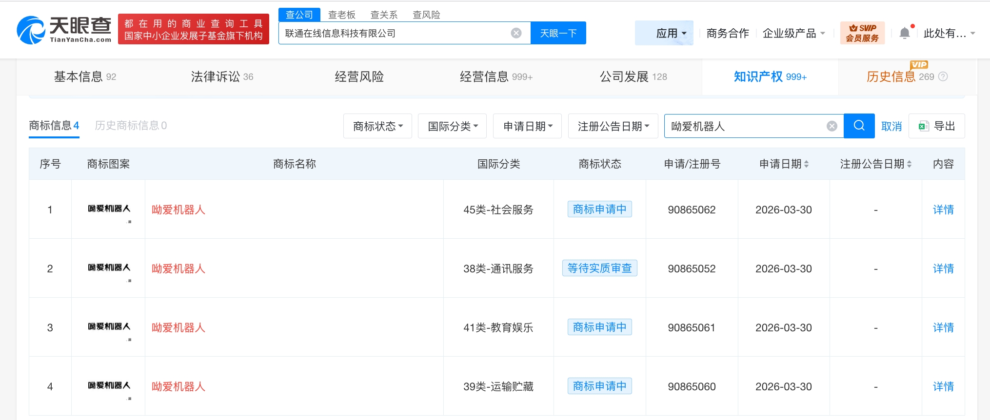
天眼查App显示,近日,联通在线信息科技有限公司申请注册多枚“呦爱机器人”商标,国际分类包括通讯服务、运输贮藏、社会服务等,当前商标状态均为等待实质审查。
联通在线信息科技有限公司成立于2006年3月,法定代表人为刘志坚,注册资本4亿人民币,经营范围含数据处理服务、数据处理和存储支持服务、大数据服务、互联网数据服务、软件开发、人工智能基础软件开发等,由中国联合网络通信有限公司全资持股。



原创文章,作者:新智派,如若转载,请注明出处:https://knewsmart.com/archives/347223
微信扫一扫