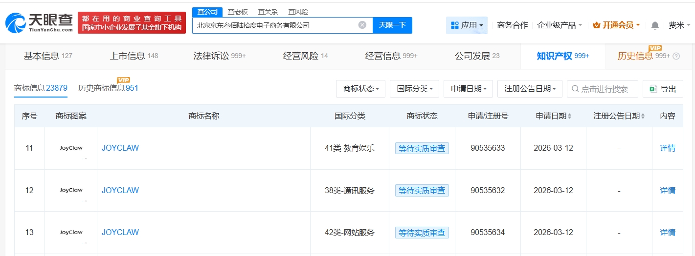
天眼查知识产权信息显示,近日,北京京东叁佰陆拾度电子商务有限公司申请注册多枚“JOYCLAW”商标,国际分类包括教育娱乐、通讯服务、网站服务等,当前商标状态均为等待实质审查。
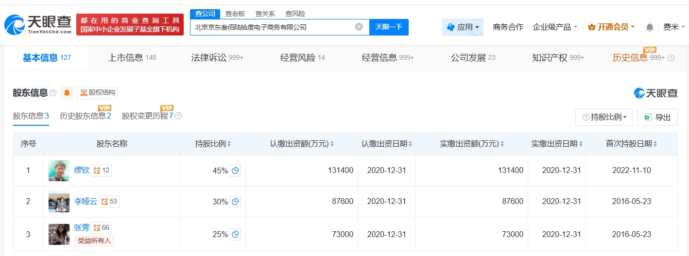
该公司成立于2007年4月,法定代表人为张奇,注册资本29.2亿人民币,经营范围包括机械设备销售、五金产品零售、五金产品批发等,由缪钦、李娅云、张雱共同持股。
公开资料显示,京东云JoyClaw是京东云于近期上线的AI个人助理,也是京东云“龙虾天团”的成员。




原创文章,作者:新智派,如若转载,请注明出处:https://knewsmart.com/archives/347212
微信扫一扫