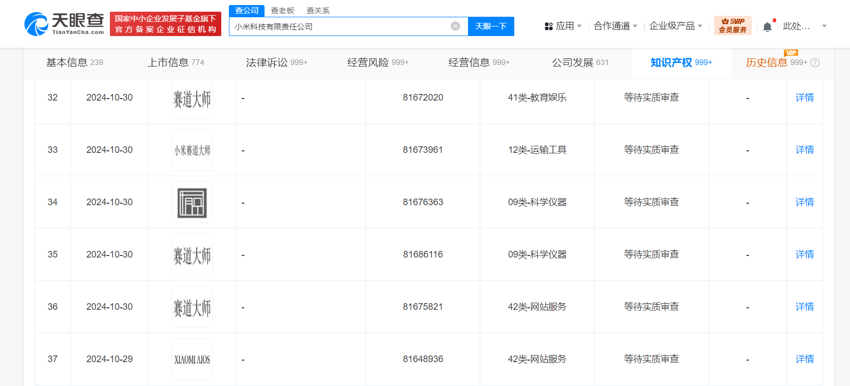
天眼查知识产权信息显示,近日,小米科技有限责任公司申请注册“超级小爱主动智能”“小米赛道”“赛道大师”“AIOS”等商标,国际分类涉及科学仪器、运输工具、网站服务等,当前商标状态均为等待实质审查。
公开信息显示,超级小爱是小爱同学的超级AI进化版,致力于打造一个全生态的AI智能助手。



原创文章,作者:,如若转载,请注明出处:https://knewsmart.com/archives/318930
小米申请超级小爱主动智能商标 小米申请AIOS商标
天眼查知识产权信息显示,近日,小米科技有限责任公司申请注册“超级小爱主动智能”“小米赛道”“赛道大师”“AIOS”等商标,国际分类涉及科学仪器、运输工具、网站服务等,当前商标状态均为等待实质审查。
公开信息显示,超级小爱是小爱同学的超级AI进化版,致力于打造一个全生态的AI智能助手。



原创文章,作者:,如若转载,请注明出处:https://knewsmart.com/archives/318930