-
药明合联赢得2024 World ADC大奖,蝉联"最佳CDMO冠军"
中国上海和美国圣地亚哥2024年11月8日 /美通社/ -- 全球领先的专注于提供抗体偶联药物(ADC)等生物偶联药物端到端CRDMO服务的药明合联(WuXi XDC,股票代码:2268.HK),近日在2024 World ADC奖评选中荣膺"最佳 CD…
-
国投集团等在张掖成立金种科技公司 注册资本5亿
国投集团等在张掖成立金种科技公司 注册资本5亿
-
杉杉集团及杉杉控股所持49.95亿股权被冻结
杉杉集团及杉杉控股所持49.95亿股权被冻结
-
超威动力退股华翔有色金属公司
超威动力退股华翔有色金属公司
-
赵丽颖起诉三家公司侵权 赵丽颖维权案下月开庭
赵丽颖起诉三家公司侵权 赵丽颖维权案下月开庭
-
长春迎来第二家福朋喜来登酒店
万豪旅享家旗下的福朋喜来登品牌宣布,长春汽开区福朋喜来登酒店正式开业,这是该品牌在长春的第二家酒店。新酒店位于长春汽车经济开发区核心地段,距离长春西站和长春站分别约5公里和11公里,距离长春龙嘉国际机场…
-
速福达创新成果发布
罗氏制药中国在第七届中国国际进口博览会上,发布了流感创新药速福达(玛巴洛沙韦)的最新CENTERSTONE研究成果。该药物通过快速抑制病毒传播,提供突破性的治疗方案。速福达作为全球首个全程单次口服药物,在24小时内…
-
梯瓦与英特集团、健民 国际签署合作协议
第七届中国国际进口博览会期间,梯瓦与英特集团和健民 国际签署战略合作协议。梯瓦引入的Sudocrem(舒多可蕾)在中国启动国家药品监督管理局备案注册,成为可供儿童安全使用的化妆品。梯瓦与英特集团深化合作,扩大Su…
-
全球采购格局在需求反弹与供应端挑战之间展开拉锯战
启迈QIMA发布2024年第四季度行业报告,数据显示全球采购格局在需求反弹与供应端挑战中拉锯。2024年第三季度,美国和欧盟买家对中国的检验和审核需求同比增长21%,电子电气和家居用品需求旺盛。新兴经济体对中国制造…
-
恒指成立55周年
恒生银行之全资附属公司恒生指数公司11月7日庆祝其旗舰恒生指数(恒指)成立55周年。恒指早于1969年11月24日推出,成为最受广泛引用的香港股票市场指标。截至2024年10月底,被动式追踪恒生指数系列产品的资产管理总值…
-
ADQ助力阿布扎比金融周成功举行
阿布扎比金融周(ADFW)是MEASA地区的旗舰金融活动,主办方ADGM宣布总部位于阿布扎比的投资和控股公司ADQ成为2024年和2025年两届活动的“首席合作伙伴”。作为未来两届大会的“首席合作伙伴”,ADQ将在策划方向和议程方面…
-
邓白氏结合全球数据与AI技术提升商业决策效率
邓白氏在第七届中国国际进口博览会上发布全球企业大数据生成式人工智能助手ChatD&B。该工具结合前沿生成式AI技术与邓白氏的高质量全球数据,帮助用户通过自然语言对话快速获取商业信息,显著降低使用门槛,提高…
-
卖水的,也立下了军令状
刚刚过去的10月29日,胡润研究院发布“2024胡润百富榜”。字节跳动创始人张一鸣以3500亿元成为中国新首富。过去一年,他的财富增长了1050亿元,涨幅达到43%。在这份榜单中,农夫山泉创始人钟睒睒财富以3400亿元位居中…
-
北马"显眼包":和睦家全程在线守护3万跑者,大写的靠谱
北京2024年11月8日 /美通社/ -- 2024 年北京马拉松于 11 月 3 日圆满落幕,这场体育盛宴再度成为北京城的璀璨焦点。 北京马拉松,作为北京闪亮的 "城市名片",承载着无数人的激情与梦想。而作为 2024 - 2026 年北京…
-
斯洛伐克总理菲佐到访国轩高科
合肥2024年11月8日 /美通社/ -- 11月4日,斯洛伐克总理罗贝尔特•菲佐在来华正式访问期间,专程到访合肥,考察国轩高科。斯洛伐克副总理兼经济部部长丹妮萨•萨科娃,以及财政部、外交部、使领馆等主要官员随同考察。…
-
Sweet Meadow 蜜贝园进博会首秀,开启中国市场甜蜜新旅程
上海2024年11月8日 /美通社/ -- 麦卢卡蜂蜜品牌蜜贝园(Sweet Meadow)携旗下全系列产品亮相第七届中国国际进口博览会(以下简称"进博会")。作为国际知名麦卢卡蜂蜜品牌康维他集团旗下的独立品牌,蜜贝园的产品致…
-
拜尔斯道夫集团进博举行"关爱致胜"战略发布会
上海2024年11月8日 /美通社/ -- 第七届中国国际进口博览会期间,全球领先的百年护肤集团拜尔斯道夫隆重举行"关爱致胜"战略发布会,在中国的落地发布集团全球战略。围绕推动集团发展的核心驱动力,拜尔斯道夫打造"关…
-
勃林格殷格翰再赴进博,正式发起ECHO医患关爱生态圈项目
上海2024年11月8日 /美通社/ -- 11月7日,勃林格殷格翰在第七届进博会上正式推出"ECHO医患关爱生态圈"(Empower & Collaborate for Health Oasis)项目。项目旨在以医患为中心,携手多方力量,赋能医疗合作模式…
-
小分子创新药院士及专家论坛(第07期)成功举办
北京2024年11月8日 /美通社/ -- 人工智能作为医药行业革新的驱动力,正在迅速重塑传统的药物研发和生产流程,推动新药研发效率和精准度的极大提升。面对这一颠覆性的变化,我们需要紧跟时代步伐,为探讨AI制药技术…
-
TÜV莱茵长三角运营中心包装运输物理测试实验室投入运营
太仓2024年11月8日 /美通社/ -- 近日,国际独立第三方检测、检验和认证机构德国莱茵TÜV大中华区(以下简称"TÜV莱茵")位于太仓长三角运营中心的包装运输物理测试实验室正式投入运营。这是TÜV莱茵继广州之后在大中华…
-
全球首个商用笔记本电脑RED网络安全认证 DEKRA德凯助力联想树立行业安全新标杆
上海2024年11月8日 /美通社/ -- 近日,全球领先的独立检验检测认证机构DEKRA德凯为联想颁发了全球首个商用笔记本电脑RED DA(Radio Equipment Directive Delegated Act)网络安全认证。这一标志性认证不仅验证了联…
-
邓白氏于第七届进博会发布全球企业大数据生成式AI助手
上海2024年11月8日 /美通社/ -- 全球数据和分析驱动的决策赋能机构邓白氏(Dun & Bradstreet)以"掌舵数据 领航商海"为主题参加第七届中国国际进口博览会,并携新品再次亮相"进博新品汇",发布全球企业大数据生…
-
航空航天、低空经济专场路演在中关村智能制造创新中心举办
北京2024年11月7日 /美通社/ -- 航天科技是科技进步和创新的重要领域,航天科技也是国家科技水平和科技能力的重要标志。10月29日,由中国投资协会股权和创业投资专业委员会、中国投资协会高新技术投资专业委员会、…
-
"链接智能•技术创新•产业升级"第四期智能产业百人沙龙成功举办
北京2024年11月8日 /美通社/ -- 10月31日,一场聚焦智能制造领域的盛会——"链接智能•技术创新•产业升级"第四期智能产业百人沙龙在中关村智能制造创新中心隆重举行。此次活动由中关村智能制造创新中心主办,北京电子…
-
日产汽车尽兴亮相第七届中国国际进口博览会
加速电驱化和智能化布局 持续深耕中国市场 上海 2024年11月8日 /美通社/ -- 第七届中国国际进口博览会(China International Import Expo,以下简称"进博会")在上海拉开序幕。日产汽车以"加速创新,日产与您共赴未…
-
融创等被强制执行4.7亿
融创等被强制执行4.7亿
-
听泉严选关联公司经营异常 听泉赏宝合伙人公司经营异常
听泉严选关联公司经营异常 听泉赏宝合伙人公司经营异常
-
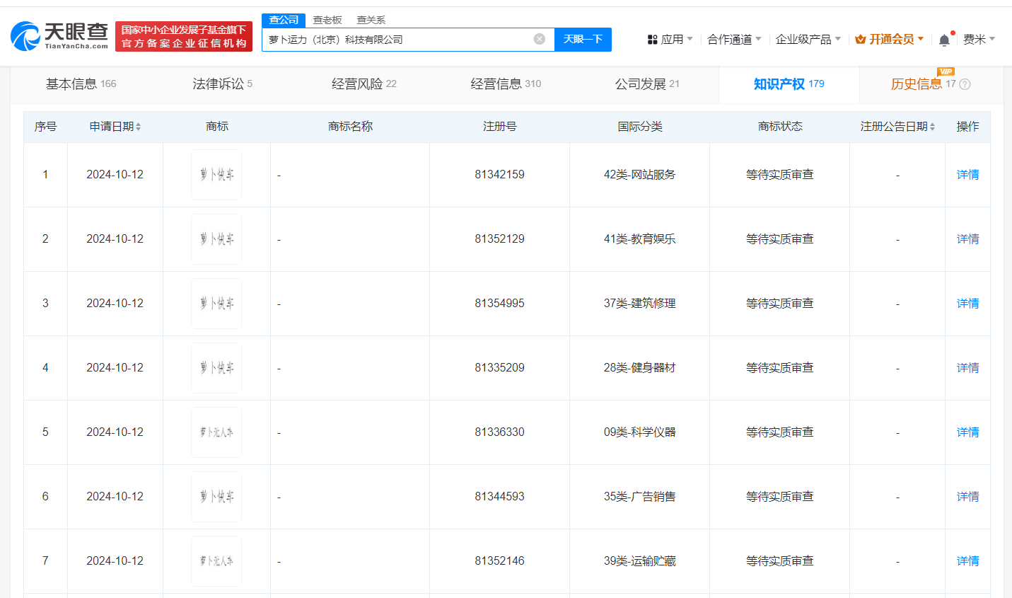
萝卜快跑申请注册萝卜无人车商标 萝卜快跑申请注册萝卜快车商标
萝卜快跑申请注册萝卜无人车商标 萝卜快跑申请注册萝卜快车商标
-
英格卡集团在沪启动零售发展中心
宜家在进博会宣布英格卡集团零售发展中心全球首发,作为其全球首个零售发展中心,将帮助宜家中国开发更多以顾客为中心、契合市场需求的创新解决方案。宜家中国期待与中国共创更多创新成果,并将成功实践推广至亚洲…
-
全球电池联盟试点成功
由全球领先的电池制造商牵头的十个联合体成功完成了最大规模的竞争前期工作,创建统一的电池通行证,达成了迈向更透明和可持续的电池价值链的新里程碑。试点项目由全球电池联盟(GBA)协调,该联盟致力于到2030年扩…