-
柏中机加工中心引进西铁城高精密走心机
Bossard柏中机加工中心引进西铁城R04-5F6走心机,专用于为新能源、半导体等行业提供微小超高精密零部件加工。该设备具有0.001 mm的精度和20000 min-1的转速,六轴联动功能,适合生产插针、精密钟表零部件等。随着中…
-
甲骨文将在卡萨布兰卡和塞塔特规划公共云区域
甲骨文(Oracle)宣布计划在摩洛哥开设两个甲骨文云区域,为非洲各地的区域组织提供企业云服务。即将推出的新区域将使甲骨文客户和合作伙伴能够将关键任务工作负载从其数据中心迁移到甲骨文云基础设施(Oracle Cloud I…
-
吴京诉商家侵权索赔212万
吴京诉商家侵权索赔212万
-
希尔顿花园酒店在华开业势头强劲
希尔顿集团旗下高端精选服务品牌希尔顿花园酒店在华开业势头强劲,截止至5月底,品牌在多个目的地城市迎来新开业酒店,包括北京、成都、山东日照、广西桂林、浙江杭州及山西晋中等,进一步深化布局。包括:北京大兴…
-
鲸鸿动能推动马来西亚旅游业发展
移动广告平台鲸鸿动能宣布首次在上海举办的中国国际旅游交易会(ITB China)上亮相,将与马来西亚旅游局合作,通过此次专属的旅游展览,推动马来西亚旅游业的发展。凭借华为的技术实力和全球网络,鲸鸿动能在170个国…
-
精鼎医药宣布与瑞金海南医院建立创新型合作伙伴关系
双方战略合作伙伴关系利用真实世界数据和真实世界证据加速将创新疗法带给中国患者 上海 2024年5月30日 /美通社/ -- 精鼎医药, 一家致力于为客户提供I至IV期全方位临床开发服务的跨国合同研究组织 (CRO)于今日宣布,…
-
墨客行影业老板2500万股权被冻结 老师好出品人赵仁鹏千万股权被冻结
墨客行影业老板2500万股权被冻结 老师好出品人赵仁鹏千万股权被冻结
-
哈萨克斯坦银行业通过CBDC卡服务开启新篇章
哈萨克斯坦推出的中央银行数字货币“数字坚戈”自发布六个月以来,已有2000万人口使用超过10种CBDC卡服务。Altyn Bank、欧亚银行和Halyk Bank通过Way4软件系统迅速加入该项目,吸引了72%的早期采用者。哈萨克斯坦国家…
-
浙江省湖州市第一家万怡酒店开业
万豪旅享家旗下超过30个卓越酒店品牌之一的万怡品牌宣布,浙江省湖州市第一家万怡酒店——安吉万怡酒店正式开业,印证了集团继续深化在长三角地区布局的决心。新酒店坐落于安吉县的中心地带,距安吉高铁站约22.5公里…
-
百川智能和零一万物大模型与亚马逊云科技托管服务深度集成
亚马逊云科技在中国峰会2024上宣布,由百川智能提供的基础模型Baichuan 2-7B即将登陆中国区域SageMaker JumpStart,由零一万物提供的基础模型Yi-1.5 6B/9B/34B正式登陆中国区域SageMaker JumpStart。作为首批登陆中…
-
小红书,丢了带货“一姐”?
文 | 新浪科技 徐苑蕾 头部主播如同各大平台的金字招牌,随着618大促拉开序幕,各大主播再次搅动直播带货江湖。 近日,在小红书引领名媛带货风潮的章小蕙开启了淘宝直播首秀。业内人士指出,淘宝擅长挖角,如今…
-
碧桂园地产等被强制执行9617万 碧桂园地产累计被执行超2亿
碧桂园地产等被强制执行9617万 碧桂园地产累计被执行超2亿
-
高亚麟名下文化公司拟注销 高亚麟名下又一家企业拟注销
高亚麟名下文化公司拟注销 高亚麟名下又一家企业拟注销
-
佳兆业等被强制执行45.2亿
佳兆业等被强制执行45.2亿
-
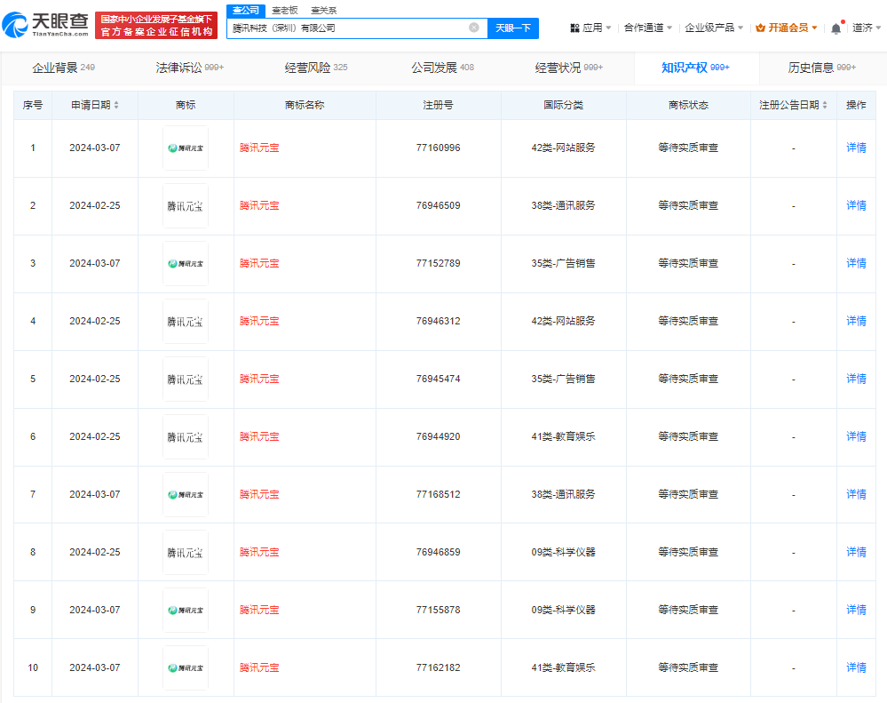
腾讯已申请腾讯元宝商标 AI神器腾讯元宝上线
腾讯已申请腾讯元宝商标 AI神器腾讯元宝上线
-
中国时空信息集团在雄安成立 注册资本40亿
中国时空信息集团在雄安成立 注册资本40亿
-
乐高®乐乐检查站公益项目进一步推广线下试点,以玩乐的方式支持儿童医疗科普教育
北京2024年5月30日 /美通社/ -- 今日,乐高集团携手合作伙伴——爱佑慈善基金会——于首都医科大学附属北京儿童医院宣布,双方在第六届进博会共同启动的乐高®乐乐检查站公益项目经过半年左右的试点推广,已累计捐赠1,62…
-
TÜV莱茵与米兰柏羽达成战略合作 推动医美行业加速提质升级
杭州2024年5月30日 /美通社/ -- 近日,国际独立第三方检测、检验和认证机构德国莱茵TÜV大中华区(简称"TÜV莱茵")与A股上市公司朗姿股份旗下医美核心板块米兰柏羽宣布正式开启战略合作。 朗姿股份董事长申东日、朗…
-
倪妮起诉贸易公司侵权 倪妮维权案将开庭
倪妮起诉贸易公司侵权 倪妮维权案将开庭
-
SK On荣获2024年"产业突出贡献企业二十强"
北京2024年5月30日 /美通社/ -- 5月30日至31日,中国汽车动力电池产业创新联盟(CABIA, China Automotive Battery Innovation Alliance) 2024年度"绿色、开放、创新,赋能新型工业化"主题大会于北京中华全国总工会国…
-
淘屏与镇江蜂巢科技达成战略合作
同步签订首批AI数字智能终端销售合同 深圳 2024年5月30日 /美通社/ -- 淘屏有限公司(纳斯达克:TAOP,简称"淘屏"或"公司"),今日宣布与镇江蜂巢信息科技有限公司("镇江蜂巢科技")签署战略合作协议,并同步签订…
-
亚马逊云科技与四维图新共推汽车行业智能化解决方案
亚马逊云科技宣布与中国领先的智能出行科技公司北京四维图新科技股份有限公司进一步加强战略合作,联合设计并推出面向汽车行业本地化的服务及专属解决方案。双方将基于亚马逊云科技全球领先的计算和存储等服务,以…
-
华谊兄弟在杭州成立火剧文化公司
华谊兄弟在杭州成立火剧文化公司
-
黄轩诉黑粉侵权 黄轩维权案将开庭
黄轩诉黑粉侵权 黄轩维权案将开庭
-
恒大地产被强制执行3.8亿 恒大地产累计被执行708亿
恒大地产被强制执行3.8亿 恒大地产累计被执行708亿
-
海信在湖南成立2家新公司 此前长沙综合生产基地已开建
海信在湖南成立2家新公司 此前长沙综合生产基地已开建
-
仲量科技推出一站式租约管理解决方案
仲量联行专注于房地产科技的业务线仲量科技,近日推出一站式数字化租约管理解决方案——睿界智管,将全国范围内的租约整合在平台上进行统一规范管理。睿界智管具备四大核心特色:企业不动产数据的标准化统一管理、实…
-
美团不停
2024年开年,曾经是美团在资本市场上的至暗时刻。1月份,股价跌破上市发行价69港元,2月份进一步下探到61港元,达到了2019年8月份之后的最低点。 此后,美团股价开始转头向上,到昨天收盘为119港元。如果按5月17日…
-
苹果开发者大会前瞻:iOS 18有20多项新功能,Siri将更智能
【TechWeb】5月30日消息,苹果全球开发者大会(WWDC24)将于6月11日凌晨拉开帷幕,按照惯例,苹果届时将公布iPhone新操作系统iOS 18。不过,各家媒体对iOS 18已进行了多番爆料,iOS 18有20多项新功能,预计将成为iP…
-
华晨宇入股LGD分部完成工商变更 华晨宇认缴20万入股LGD分部
华晨宇入股LGD分部完成工商变更 华晨宇认缴20万入股LGD分部