-
平板显示面板工厂利用率将保持健康发展态势
平板显示面板(FPD)行业的工厂利用率通常约为84%。但是,从2022年第三季度到2023年第四季度,整个行业的负荷大幅下降至70.7%。Omdia报告显示,随着需求增长最终超过产能扩张,大尺寸显示面板工厂的利用率在2024年第…
-
小红书发力店播,谁拿到了红利?
吴君君也许没想到,自己一家才刚刚突破15万粉丝的假睫毛店铺,每个月在小红书上销售竟然能超过百万。 2023年9月,作为“Nye White奈小白”品牌主理人,吴君君在小红书上发布了第一条免胶睫毛新品笔记,这条笔记只有4…
-
AI大模型行业的618,走上价格战的老路
任谁都没有想到,2024年618的第一枪,居然不是由“猫狗拼抖”任意一家电商发起,取而代之的是大模型厂商。 半个月前,火山引擎先发制人,宣布豆包主力模型在企业市场定价为0.0008元/千tokens,较行业便宜99.3%。一周…
-
当端午遇上“高考” 酒店价格开启小幅度增长
当端午遇上“高考” 酒店价格开启小幅度增长
-
AI PC为PC行业复苏注入活力 2028年或将占据超六成市场份额
AI PC为PC行业复苏注入活力 2028年或将占据超六成市场份额
-
揭秘昔又大排灯关联公司
揭秘昔又大排灯关联公司
-
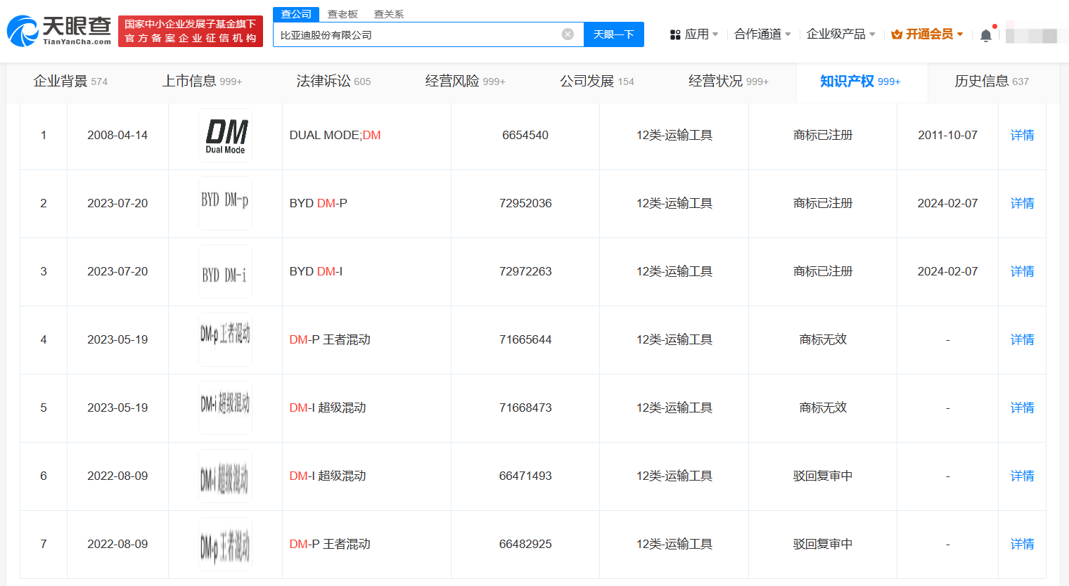
比亚迪已成功注册DM-i商标 比亚迪
比亚迪已成功注册DM-i商标 比亚迪
-
戚薇起诉网络科技公司侵权 戚薇维权案件将开庭
戚薇起诉网络科技公司侵权 戚薇维权案件将开庭
-
融创被强制执行14亿 融创累计被执行超272亿
融创被强制执行14亿 融创累计被执行超272亿
-
服务体验多重优化:普渡机器人欢乐送2、贝拉Pro和葫芦Pro全新升级
深圳2024年5月29日 /美通社/ -- 5月20日,全球服务机器人领导品牌普渡机器人召开了2024年新品发布会暨全国代理商大会,会上发布了欢乐送2、贝拉Pro和葫芦Pro等多款新升级服务机器人产品。多款迭代产品带来了功能和…
-
2024欧莱雅-联合国教科文组织世界杰出女科学家奖颁奖典礼举办
颜宁教授成为中国第八位获奖人 巴黎 2024年5月29日 /美通社/ -- 昨晚,第26届欧莱雅-联合国教科文组织"世界杰出女科学家成就奖"颁奖典礼在联合国教科文组织巴黎总部举办,中国科学院院士、清华大学生命科学学院讲席…
-
欧洲记者在世界顶级电动汽车实验室探索行业转型创新
宇通举办媒体参观活动,公布最新实验室统计数据 郑州 2024年5月29日 /美通社/ -- 来自欧洲23家新闻 机构的记者在宇通客车(SHA:600066)品牌体验中心、新能源制造基地和工程测试中心进行为期两天的访问,该中心是全球…
-
盟科药业将于第七届世界支气管扩张症大会发布三项管线研究结果
盟科药业将于第七届世界支气管扩张症大会上以壁报形式发布三项管线产品研究结果 世界支气管扩张症大会是一个国际性盛会,旨在促进支扩领域的交流、合作及最新研究成果的分享 上海2024年5月29日 /美通社/ -- 第七届…
-
2024环球资源香港展成功举办,美通社助力参展企业扩大传播影响力
北京2024年5月28日 /美通社/ -- 近日,2024环球资源香港展在亚洲国际博览馆成功举办。作为全球专业采购人士的首选盛会,环球资源香港展于每年四月及十月举办两届,每届分三期举行。本次四月展会共汇集了超过5000家…
-
上海三棵树汽车新材料有限公司中标比亚迪自干型水性PVC项目
上海2024年5月29日 /美通社/ -- 近日,三棵树汽车新材成功中标比亚迪汕头和广安两个工厂的自干型水性PVC项目,这一重大进展再次彰显了三棵树在环保新材料领域的研发实力和市场竞争力。 此次 中标的自干型水性PVC材…
-
永续大地精彩,立邦携绿色建筑解决方案亮相零碳大会
上海2024年5月29日 /美通社/ -- 5月26日,由中国建筑节能协会主办的2024国际零碳城市乡村与零碳建筑大会暨技术设备博览会(以下简称“零碳大会”)于北京国家会议中心正式召开。 立邦携绿色建筑解决方案亮相2024零碳…
-
亚马逊云科技宣布多项举措赋能企业数字化转型与AI创新
上海2024年5月29日 /美通社/ -- 2024年5月29日,亚马逊云科技中国峰会在上海召开。峰会期间,亚马逊全球副总裁、亚马逊云科技大中华区总裁储瑞松全面阐述了亚马逊云科技如何利用在算力、模型、以及应用层面丰富的产…
-
菲仕兰助力发展乳业新质生产力
长沙2024年5月29日 /美通社/ -- 2024年5月28日上午,中国乳制品工业协会第三十次年会在湖南长沙正式召开。荷兰皇家菲仕兰受邀参会,并在大会各分论坛分享前沿研究成果,助力发展乳业新质生产力。 本次年会由中国乳…
-
强生医疗科技全国首批OCTARAY指导下高密度标测房颤射频消融手术顺利开展
以创新技术助力房颤消融更精确、更高效 上海 2024年5月29日 /美通社/ -- 近期,强生医疗科技旗下全新一代 OCTARAY一次性使用磁定位星型标测导管正式进入中国,并在全国三十多家医院 顺利完成了首批房颤射频消融手术…
-
《麻省理工科技评论》洞察与思特沃克发布最新报告
——明智的决策是企业数据现代化的首要目标 北京2024年5月29日 /美通社/ -- 近日,《麻省理工科技评论》洞察最新报告探讨了企业数据战略和现代化计划与整体业务战略不一致,以及过于狭隘地专注于人工智能,导致大量商…
-
聚焦合成生物学,2024年首届CPHI生物制造创新发展大会日程抢先看
上海2024年5月29日 /美通社/ -- 在过去三十多年的研究积累下,合成生物学已经从基础理论探索阶段迈向了实质性的应用研究和产品开发阶段。在医药原料、食品、保健食品、化妆品、材料、化工及能源等众多领域,新产品…
-
罗克韦尔自动化第三届亚太区 PartnerNetwork 合作伙伴奖项公布
PartnerNetwork 成员企业齐聚一堂,共同见证在创新、可持续性和商业影响方面取得的成就 上海 2024年5月29日 /美通社/ -- 作为工业自动化、信息化和数字化转型领域的全球领先企业之一,罗克韦尔自动化 (NYSE: ROK) …
-
529世界肠道健康日 第一财经联合养乐多发布《肠道健康意识白皮书》
上海2024年5月29日 /美通社/ -- 为了增进消费者对肠道健康的关注及了解,第一财经联合中国食品健康七星联盟、养乐多共同发起肠道健康意识网络调查,并根据调查结果形成《肠道健康意识白皮书》(以下简称"白皮书")…
-
福禄克与云深处达成战略合作
推动搭载声学成像仪的四足机器人在工业巡检领域的应用 上海 2024年5月29日 /美通社/ -- 福禄克中国宣布与国内具身智能技术创新与应用领导者云深处科技达成战略合作,共同探索四足机器人搭载在线式声学成像仪的自主…
-
第二届中国国际供应链促进博览会英国推介路演成功举办
伦敦2024年5月29日 /美通社/ -- 5月24日,在中国贸促会会长任鸿斌率中国企业家代表团访问英国期间,第二届中国国际供应链促进博览会推介会在伦敦举行。中国贸促会会长任鸿斌、中国驻英国大使郑泽光、英中贸易协会主…
-
TÜV莱茵为广州三佳投篮类游戏机颁发北美cTUVus证书
广州2024年5月29日 /美通社/ -- 近日,国际独立第三方检测、检验和认证机构德国莱茵TÜV大中华区(简称"TÜV莱茵")在亚洲乐园及景点博览会上,为广州三佳游乐设备有限公司(简称"广州三佳")生产销售的两款投篮类游…
-
玩美移动亮相第28届上海CBE中国美妆博览会
以AI+AR美妆科技为不同规模的品牌提供美妆科技解决方案,重新定义消费者购物体验 上海 2024年5月29日 /美通社/ -- 全球领先的增强现实( AR)及人工智能(AI)美妆科技领导者及玩美系列APP开发商——玩美移动(纽交所…
-
新角色、新生态、新发展----高校图书馆构筑新质生产力人才基石高峰论坛圆满收官
北京2024年5月28日 /美通社/ -- 5月21日,由爱思唯尔联合四川省普通高等学校图书情报工作委员会、四川大学图书馆和南京大学图书馆共同主办的"新角色 • 新生态 • 新发展——高校图书馆构筑新质生产力人才基石高峰论坛"…
-
揭秘昔又美容仪关联公司
揭秘昔又美容仪关联公司
-
芯擎科技在无锡成立新公司 注册资本1亿
芯擎科技在无锡成立新公司 注册资本1亿