-
恒洁亮相2024广州设计周,引领品质人居美学新高度
广州2024年12月7日 /美通社/ -- 2024年12月6日,亚洲顶级设计盛会广州设计周盛大启幕,恒洁再次作为「超级品牌策源IP概念馆」唯一被臻选参展的卫浴品牌,重磅亮相广州设计周,以“总有美好在此间”为主题,开启一场沉…
-
重庆尼依格罗酒店邀各位共度璀璨圣诞
重庆2024年12月6日 /美通社/ -- 粲然佳期,悦启云端,一场美轮美奂的圣诞盛宴在重庆尼依格罗酒店闪耀启幕,趣味编织出节日专属的梦幻篇章。通过一系列缤纷璀璨的美食盛典,无论从至臻的节日晚宴、趣意十足的主题下…
-
雪季开板,与Club Med地中海俱乐部共赴法国阿尔卑斯山滑雪之旅
上海2024年12月6日 /美通社/ -- 随着雪季的到来,Club Med地中海俱乐部位于法国阿尔卑斯山地区的多家度假村陆续开村,为宾客带来"一价全包"滑雪度假体验。在这个银装素裹的季节里,Club Med地中海俱乐部诚邀宾客踏…
-
Uber和文远知行在阿布扎比落地中东最大商业运营Robotaxi车队
阿联酋阿布扎比2024年12月6日 /美通社/ -- 2024年12月6日,全球领先的自动驾驶科技公司、全球Robotaxi第一股文远知行WeRide(NASDAQ: WRD)与全球最大的移动出行及配送科技公司优步Uber Technologies, Inc.(NYSE: …
-
群晖HD6500满足海量数据存储需求
群晖推出的PB级高密度服务器HD6500,采用4U机架式机箱,内置60个硬盘插槽,可扩充至300块硬盘,适用于PC和服务器备份数据、视频影像库及大规模监控视频等存储需求。HD6500内置Intel至强CPU和64GB DDR4 ECC内存,并…
-
2024"一带一路"商协会大会在榕开幕
福州2024年12月6日 /美通社/ -- 12月5日上午,2024"一带一路"商协会大会开幕式在福州数字中国会展中心举行。此次大会以"‘海上福州’扬帆远航 共创海丝合作新篇章"为主题,旨在搭建互联互通有效平台,促进共建"一带一…
-
湖南钢铁集团7亿成立国际贸易公司 含新能源汽车销售业务
湖南钢铁集团7亿成立国际贸易公司 含新能源汽车销售业务
-
易烊千玺告酒吧侵权 易烊千玺新增维权案件
易烊千玺告酒吧侵权 易烊千玺新增维权案件
-
天津航空换帅 马志敏卸任天津航空董事长
天津航空换帅 马志敏卸任天津航空董事长
-
领航采购,开辟新篇 | 2024卓越采购奖颁奖晚宴回顾
上海2024年12月6日 /美通社/ -- 11月21日晚,2024卓越采购奖颁奖典礼在上海圆满举行。这是一场属于全球采购人的年度盛典,也是一场见证卓越与荣耀的辉煌时刻。 2024年卓越采购奖吸引了来自25个国家与地区的207件申…
-
群晖PB级高密度存储,满足海量数据存储、备份与存档
上海2024年12月6日 /美通社/ -- 很多大型企业,或是有海量数据存储需求的企业,对于PB级数据存储一直寻求运行稳定、安全高效且高性价比的解决方案。PB级存储服务器主要应用于冷数据存储、数据备份、数据存档等,虽…
-
东软集团等在北京成立科技公司 含AI软件开发业务
东软集团等在北京成立科技公司 含AI软件开发业务
-
蔚来汽车科技公司增资至180亿 增幅200%
蔚来汽车科技公司增资至180亿 增幅200%
-
小鹏汇天申请空中堡垒商标 小鹏汇天申请天启商标
小鹏汇天申请空中堡垒商标 小鹏汇天申请天启商标
-
关注残障群体需求,微众银行持续推动无障碍金融服务
勇砺商业评论 曾宪勇 据2023年国家统计局数据显示,我国约有2700万听障人士,他们在办理金融业务时经常会遇到较多障碍。 “奔向美好生活的路上,一个都不能少。”无障碍建设是国家和社会文明的重要标志。2023年9月1日…
-
浪潮信息发布嵌入模型“源”Yuan-EB
浪潮信息近日发布了嵌入模型“源”Yuan-EB(Yuan-embedding-1.0),在C-MTEB榜单的检索任务中获第一名,以78.41的平均精度刷新了大模型RAG检索的最高成绩。该模型专为增强中文文本检索能力而设计,基于“源2.0”大模型…
-
亚马逊云科技助力客户加速采用生成式AI
亚马逊云科技完全托管的服务Amazon Bedrock推出多项创新功能。Amazon Bedrock新增了Luma AI、poolside和Stability AI等领先AI公司的模型,并通过Amazon Bedrock Marketplace提供100多个热门、新兴及专业模型的访问…
-
富士胶片携手瑞派•虹泰达成战略合作 迈入动物医疗新篇章
上海2024年12月6日 /美通社/ -- 2024年12月5日,在动物检验领域不断探索与前进的富士胶片(中国)投资有限公司(以下简称"富士胶片(中国)")与在动物医疗行业享有盛誉的瑞派•虹泰宠物医院正式签署战略合作协议。…
-
戴敏敏卸任上海国有资本投资母基金董事长 陆雯接任
戴敏敏卸任上海国有资本投资母基金董事长 陆雯接任
-
深圳高新投高端装备产业私募基金成立 出资额14.5亿
深圳高新投高端装备产业私募基金成立 出资额14.5亿
-
安恒信息在苏州成立信息技术公司 注册资本5000万
安恒信息在苏州成立信息技术公司 注册资本5000万
-
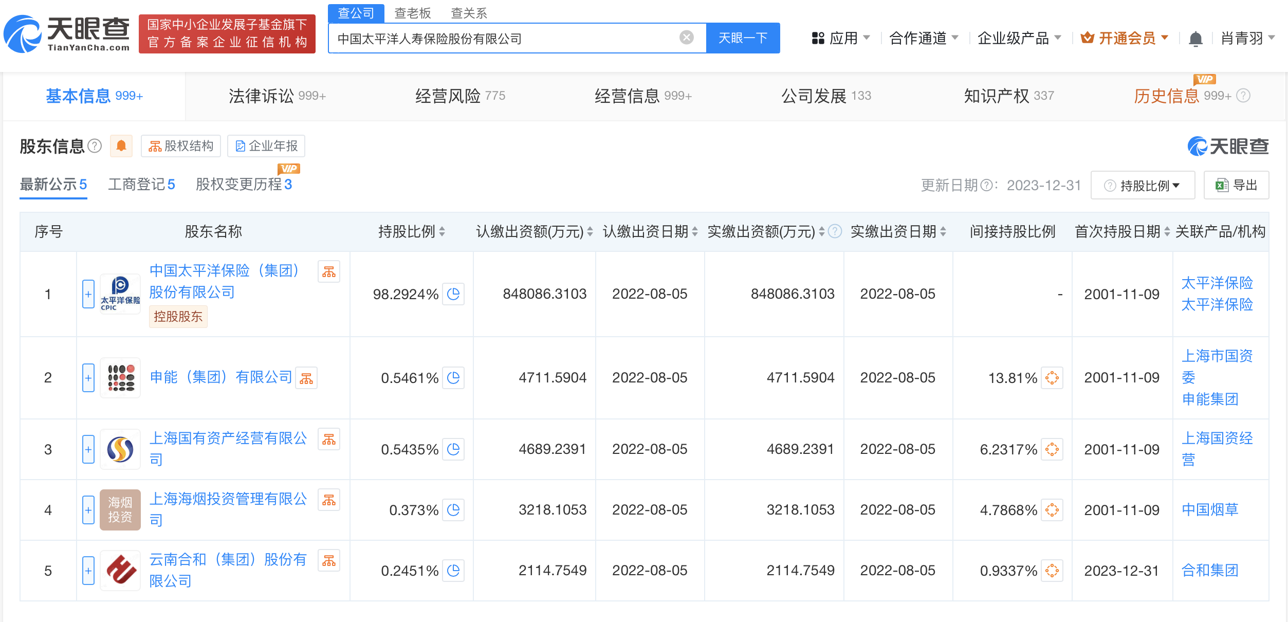
潘艳红卸任太保寿险董事长完成工商变更
潘艳红卸任太保寿险董事长完成工商变更
-
浙江省机场集团与普洛斯航空物流平台达成战略合作
12月4日下午,浙江省机场集团与普洛斯航空物流平台普恒国际在杭州举行战略合作协议签署仪式。根据战略协议,普洛斯中国与浙江省机场集团将致力于完善园区生物医药、生鲜产业链布局,共同推进智慧化物流园区的建设,…
-
2024中非智库能源论坛在乍得成功举办
中非携手推进能源合作现代化 乍得恩贾梅纳 2024年12月6日 /美通社/ -- 深化互利合作,携手共同发展。12月5日,2024中非智库能源论坛在乍得首都恩贾梅纳成功举办。本次论坛由中国石油集团经济技术研究院、非洲政策研…
-
在闹市滑雪 HALTI限时快闪店带来"开板"乐趣
南京2024年12月5日 /美通社/ -- 2024年11月19日-2025年1月26日,芬兰知名户外滑雪品牌HALTI在南京万象天地A座B1中庭落地全国首个「冬日冰冻计划」主题快闪店,以简洁的线条营造雪地生活,营造追求自由的浪漫情怀,…
-
普洛斯航空物流平台与浙江省机场集团签订战略合作协议
杭州和北京2024年12月6日 /美通社/ -- 12月4日下午,浙江省机场集团与普洛斯航空物流平台普恒国际在杭州举行战略合作协议签署仪式。浙江省机场集团董事长、党委书记魏建根与普洛斯中国高级副总裁、航空物流平台总裁…
-
在PACIFIC-5临床试验中,英飞凡治疗不可切除III期非小细胞肺癌患者具有显著疗效,与安慰剂相比,可显著降低疾病进展或死亡风险
无论是同步放化疗或序贯放化疗后的Ⅲ期非小细胞肺癌患者均能从免疫巩固治疗中获益 上海 2024年12月6日 /美通社/ -- PACIFIC-5 III期临床试验的阳性结果表明:阿斯利康的英飞凡 (通用名:度伐利尤单抗)治疗接受同步或…
-
捷报频传,向高处行,马石油荣获传播领域多个权威奖项
上海2024年12月6日 /美通社/ -- 近日,马来西亚国家石油公司(下称"马石油")在华捷报频传。凭借今年的两项重点传播项目,马石油荣获公共关系及品牌传播领域的多个权威奖项,并赢得了行业高度认可与赞誉。 《"薪火…
-
上海西岸美高梅酒店"色彩觉醒"艺术联名项目点亮节庆盛宴
上海2024年12月6日 /美通社/ -- 上海西岸美高梅酒店"艺术+"项目启动至今,已成功合作诸多杰出艺术家,以匠心巧思与精湛技艺,为酒店每一寸空间悉心雕琢,举手投足之间都充满着艺术的活力与韵味。值此节日之际,艺术…
-
浪潮信息发布"源"Yuan-EB,刷新大模型RAG检索精度纪录!
北京2024年12月6日 /美通社/ -- 近日,浪潮信息发布"源"Yuan-EB(Yuan-embedding-1.0,嵌入模型),在C-MTEB榜单中斩获检索任务第一名,以78.41的平均精度刷新大模型RAG检索最高成绩,将基于元脑企智EPAI为构建企业…