据媒体报道,近日,有消息称在国内排名靠前的蜂群文化公布的新加盟名单里,《再见爱人》节目组嘉宾黄圣依、杨子、葛夕都在列,蜂群文化对此回应称“是的,具体请以官方发布的信息为准”。
天眼查App显示,蜂群文化关联公司深圳市蜂群文化传播有限公司成立于2015年12月,法定代表人为马力,注册资本2500万人民币,经营范围含影视多媒体设计、文化活动策划、舞台艺术造型策划等,由深圳蜂群文创发展有限公司、马力、莫力洋共同持股。对外投资信息显示,该公司对外投资5家企业,仅浣熊(北京)影视文化传媒有限公司处于存续状态,其余4家企业均已注销。
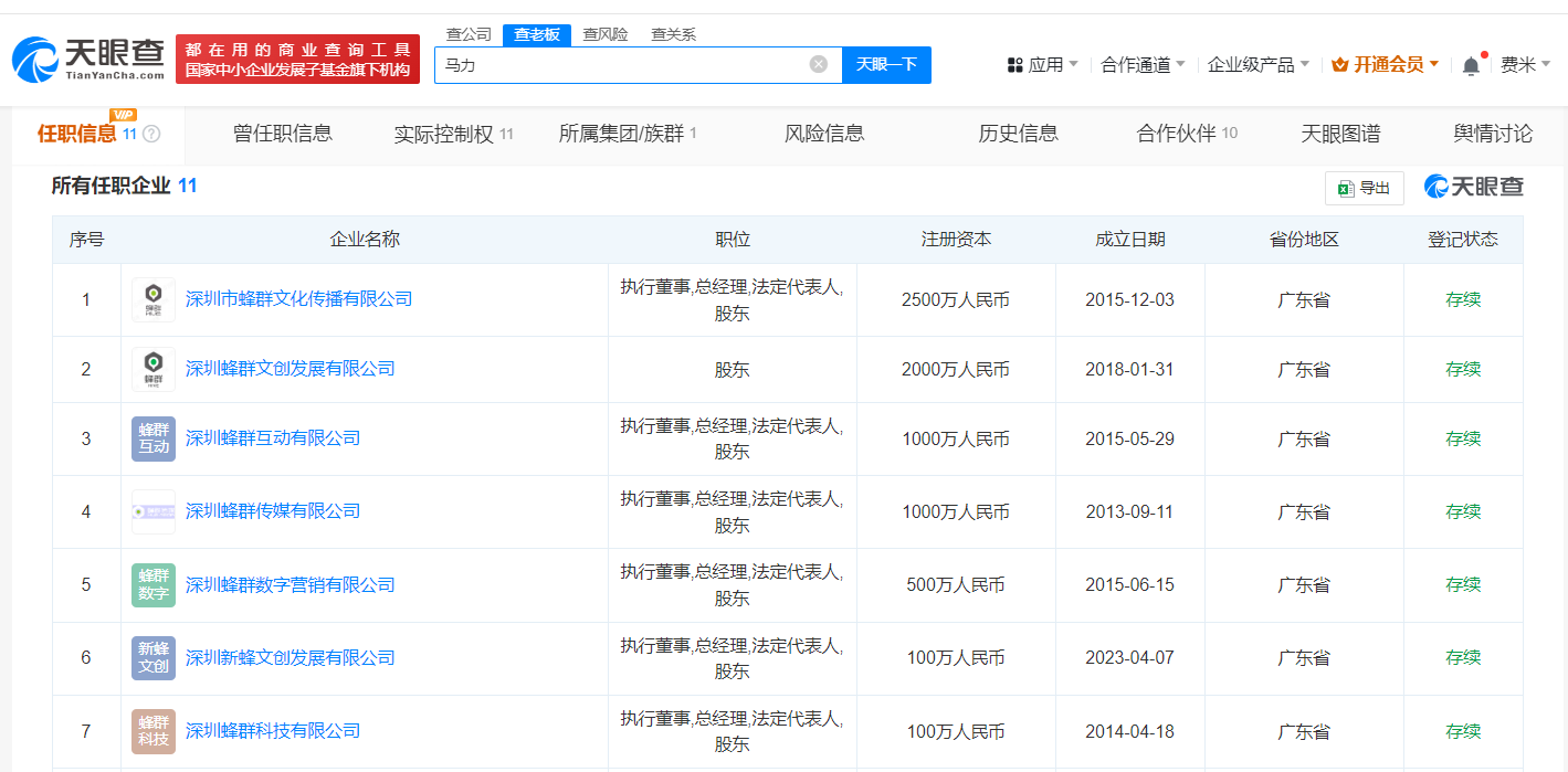
值得一提的是,该公司法定代表人马力名下关联11家企业,其中7家为存续状态,包括深圳蜂群文创发展有限公司、深圳蜂群科技有限公司等,其中刘爽(留几手)持有深圳蜂群科技有限公司15%的股份。



原创文章,作者:新智派,如若转载,请注明出处:https://knewsmart.com/archives/325553
微信扫一扫