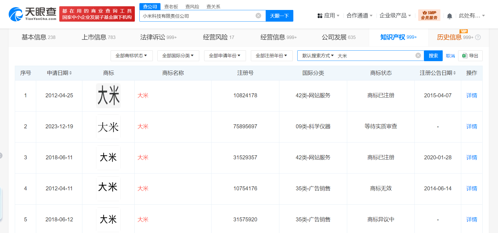
天眼查知识产权信息显示,近日,小米科技有限责任公司申请注册一枚“少米”商标,国际分类为科学仪器,当前商标状态为等待实质审查。
小米科技有限责任公司成立于2010年3月,法定代表人为雷军,注册资本18.5亿人民币,由雷军、黎万强、洪锋、刘德共同持股。值得注意的是,该公司此前已申请“紫米”“橙米”“大米”“小未”等商标。



原创文章,作者:新智派,如若转载,请注明出处:https://knewsmart.com/archives/325809
小米申请少米商标 小米已申请小未少米大米等商标
天眼查知识产权信息显示,近日,小米科技有限责任公司申请注册一枚“少米”商标,国际分类为科学仪器,当前商标状态为等待实质审查。
小米科技有限责任公司成立于2010年3月,法定代表人为雷军,注册资本18.5亿人民币,由雷军、黎万强、洪锋、刘德共同持股。值得注意的是,该公司此前已申请“紫米”“橙米”“大米”“小未”等商标。



原创文章,作者:新智派,如若转载,请注明出处:https://knewsmart.com/archives/325809