据媒体报道,截至2月6日0时0分,影片《哪吒之魔童闹海》票房突破56亿。此前,《哪吒》系列电影总票房已经超过100亿,饺子导演成为百亿票房导演。
天眼查App显示,杨宇(饺子导演)名下关联13家企业,其中3家为存续状态,包括成都自在境界文化传媒有限公司、霍尔果斯可可豆动画影视有限公司、成都可可豆动画影视有限公司。天眼查财产线索信息显示,成都自在境界文化传媒有限公司、成都可可豆动画影视有限公司已登记多个《哪吒之魔童闹海》相关作品著作权,内容涉及哪吒、敖丙、申公豹等角色,作品包括三维动画电影角色、Q版图库、动作等方面。
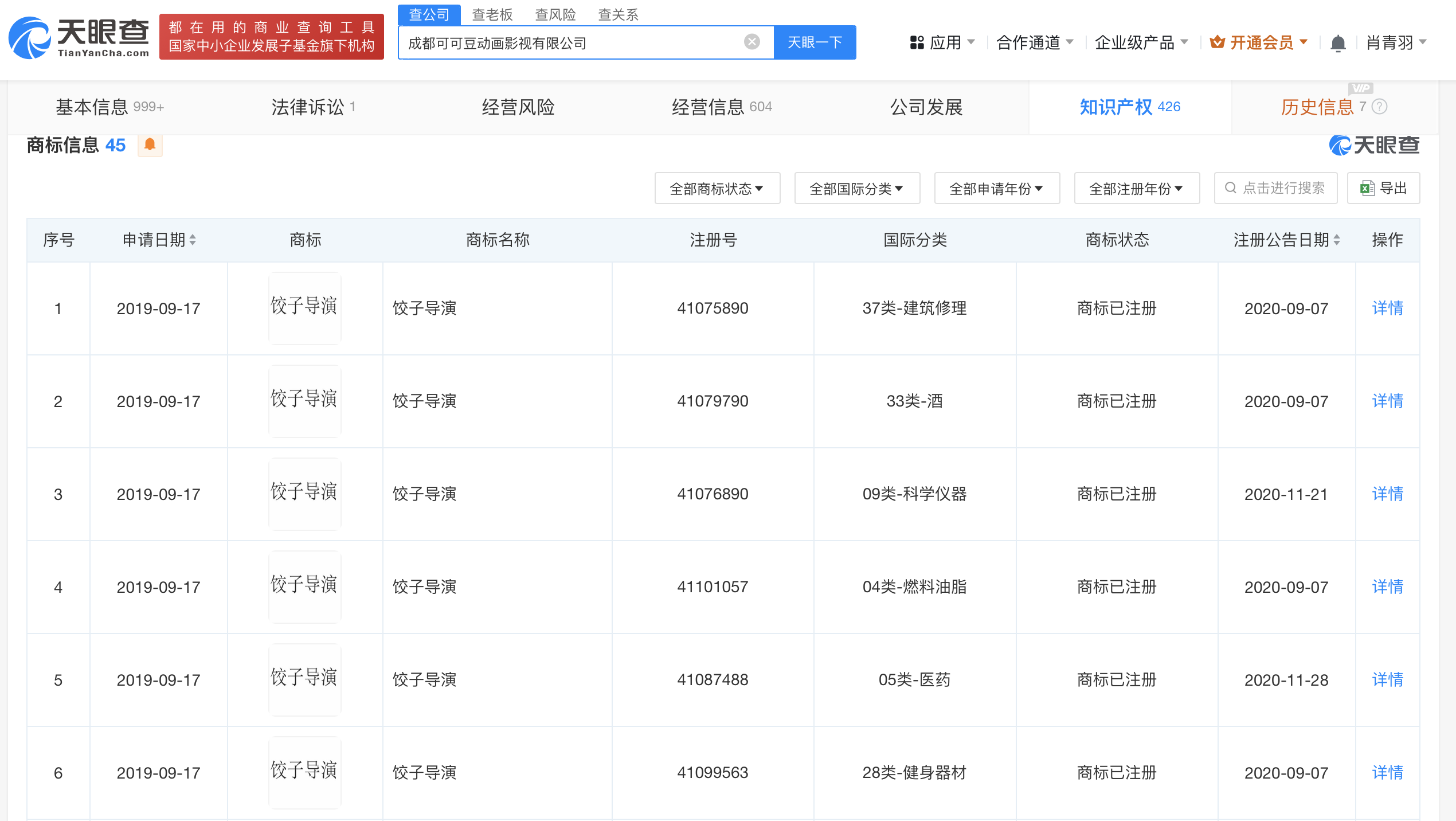
此外,成都可可豆动画影视有限公司已申请注册多枚“饺子导演”商标,国际分类涉及建筑修理、酒、科学仪器等,当前商标状态多为已注册。




原创文章,作者:新智派,如若转载,请注明出处:https://knewsmart.com/archives/326324
微信扫一扫