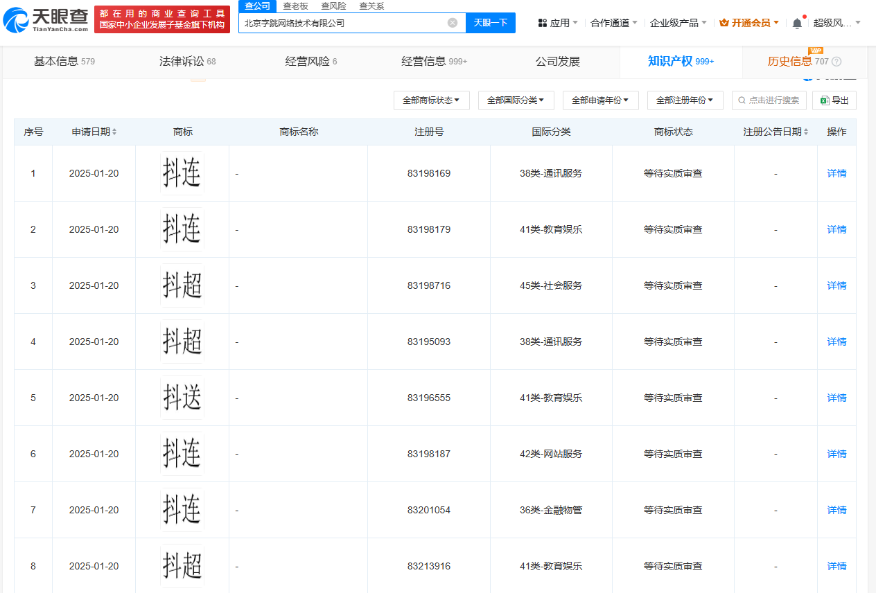
天眼查App显示,近日,北京字跳网络技术有限公司申请注册多枚“抖超”“抖连”“抖送”商标,国际分类涉及教育娱乐、网站服务、社会服务等,当前商标状态均为等待实质审查。
北京字跳网络技术有限公司成立于2018年10月,法定代表人为李英,注册资本1亿美元,由抖音集团(香港)有限公司全资持股。


原创文章,作者:新智派,如若转载,请注明出处:https://knewsmart.com/archives/326823
抖音旗下公司申请抖送商标 抖音申请注册抖送抖超抖连商标
天眼查App显示,近日,北京字跳网络技术有限公司申请注册多枚“抖超”“抖连”“抖送”商标,国际分类涉及教育娱乐、网站服务、社会服务等,当前商标状态均为等待实质审查。
北京字跳网络技术有限公司成立于2018年10月,法定代表人为李英,注册资本1亿美元,由抖音集团(香港)有限公司全资持股。


原创文章,作者:新智派,如若转载,请注明出处:https://knewsmart.com/archives/326823