近日,有网友反映长沙一网红湘菜馆厕所标识疑似默许男士偷看女士如厕,引发争议。公开信息显示,涉事的网红湘菜馆草根大院隶属于湖南中创良品商贸有限公司旗下。
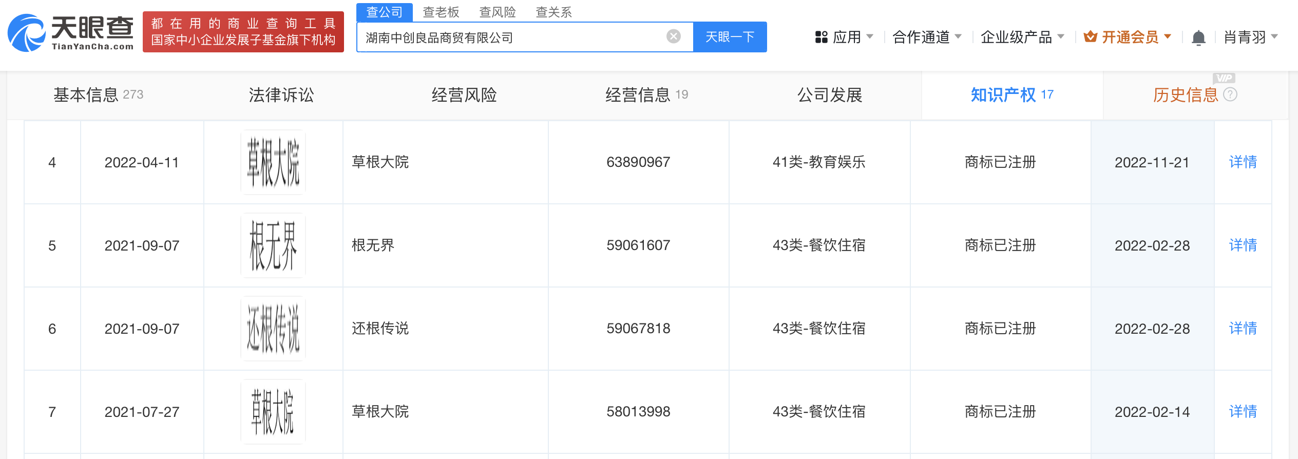
天眼查App显示,湖南中创良品商贸有限公司成立于2016年6月,法定代表人为夏盼,注册资本200万人民币,经营范围含企业管理咨询服务、酒店管理、互联网信息服务、企业形象策划服务、酒吧服务等,由夏盼全资持股。知识产权信息显示,该公司已成功注册“草根大院”“根无界”“还根传说”等商标,国际分类涉及教育娱乐、餐饮住宿等。



原创文章,作者:新智派,如若转载,请注明出处:https://knewsmart.com/archives/327190
微信扫一扫