据媒体报道,近日,一网友实名举报上海华盛纺织品有限公司董事长朱某某,称其利用面试机会对自己进行性骚扰和猥亵。警方立案后查证,朱某某实施猥亵的违法行为属实,但因其年满七十周岁,给予行政拘留五日的处罚无法执行。受害者张女士表示,对方没有受到任何惩处,而自己不仅没有获得任何赔偿,也没有收到道歉。
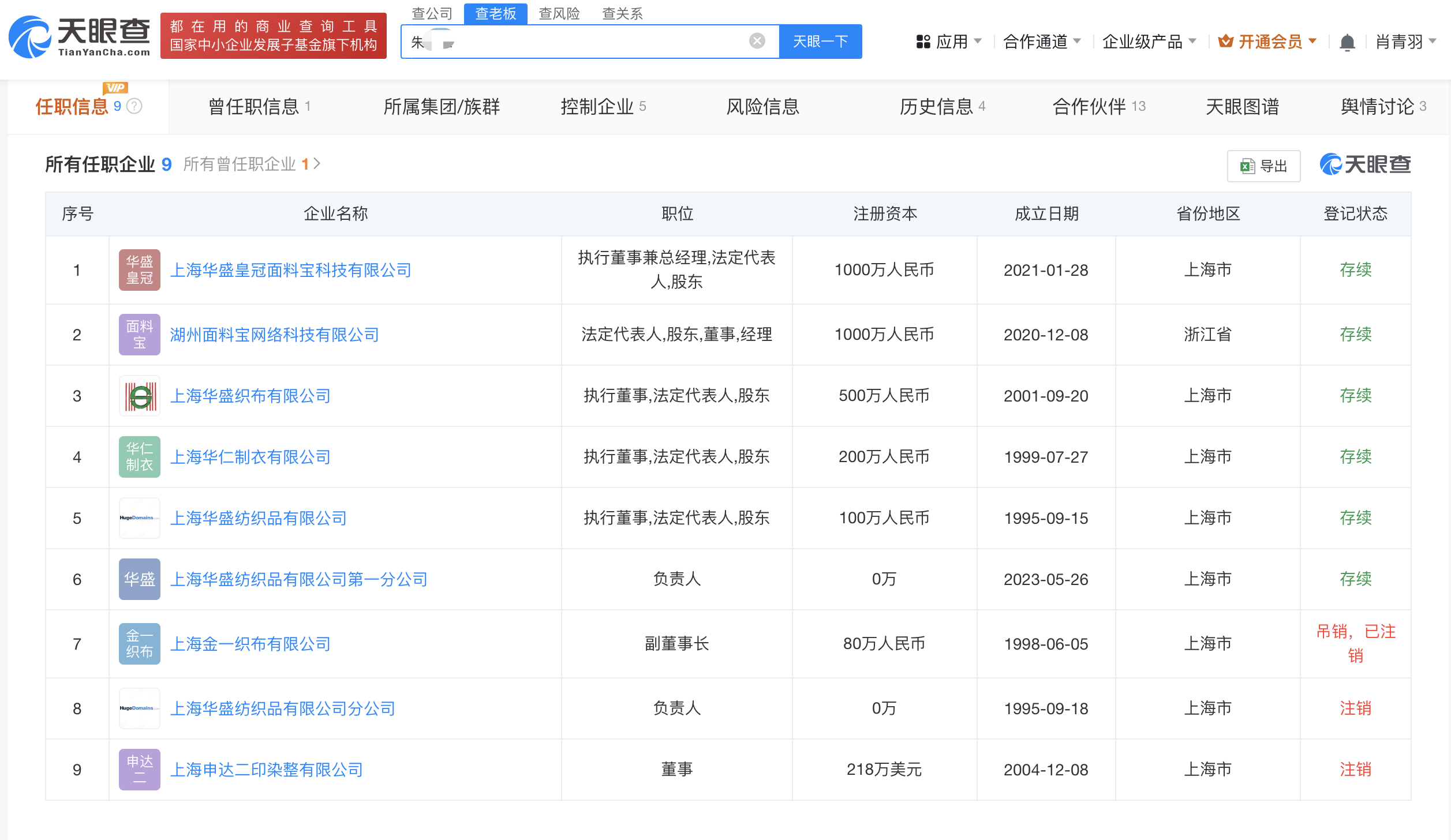
天眼查App显示,上海华盛纺织品有限公司成立于1995年9月,注册资本100万,由朱某某担任法定代表人、执行董事,并持股75%。商业履历信息显示,朱某某名下共关联9家公司,其中6家为存续状态,包括上海华盛皇冠面料宝科技有限公司、湖州面料宝网络科技有限公司、上海华盛织布有限公司、上海华仁制衣有限公司等,朱某某在上述企业担任执行董事兼总经理、法定代表人、股东等职务。



原创文章,作者:新智派,如若转载,请注明出处:https://knewsmart.com/archives/327345
微信扫一扫