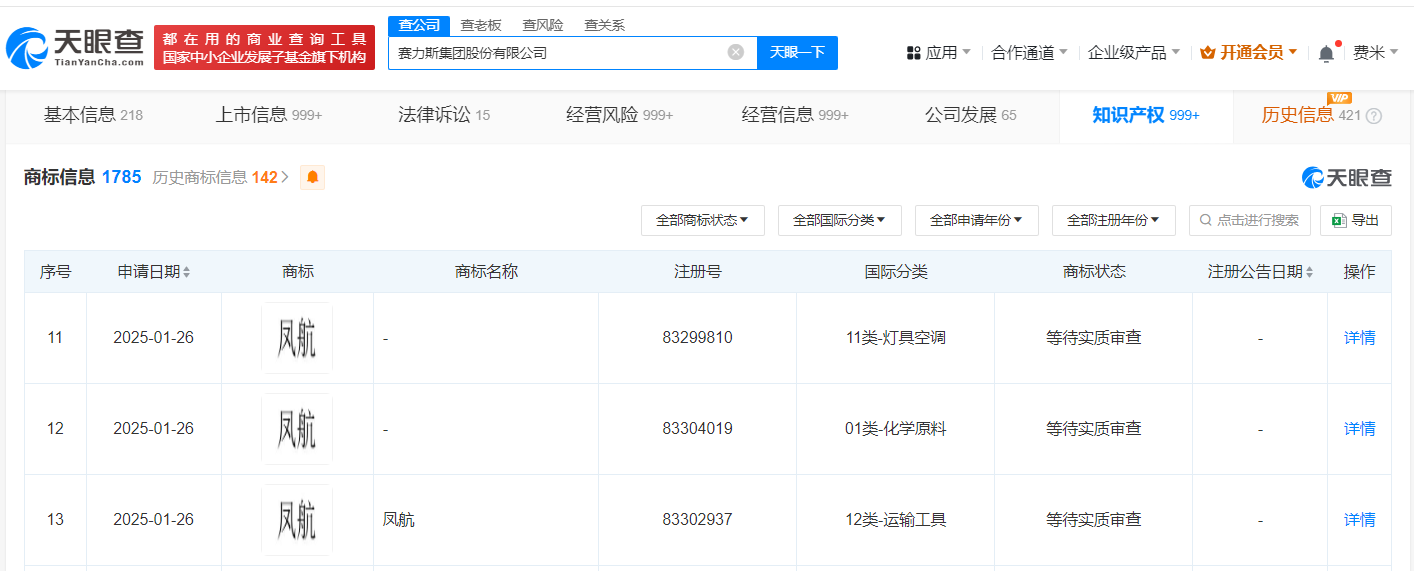
天眼查知识产权信息显示,近日,赛力斯(601127)申请注册多枚“凤航”商标,国际分类含科学仪器、运输工具、机械设备等,当前商标状态均为等待实质审查。
赛力斯集团股份有限公司成立于2007年5月,法定代表人为张正萍,注册资本约15亿人民币,经营范围含房屋租赁、机械设备租赁,经济技术咨询服务,货物进出口等,由重庆小康控股有限公司、东风汽车集团有限公司、重庆渝安汽车工业有限公司等共同持股。



原创文章,作者:新智派,如若转载,请注明出处:https://knewsmart.com/archives/328105
微信扫一扫