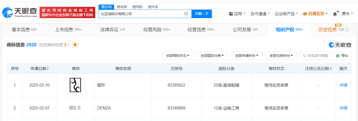
天眼查知识产权信息显示,近日,比亚迪(002594)申请注册“DENZA N7”商标,国际分类为运输工具,当前商标状态为等待实质审查。
据媒体报道,近日,2025款腾势N7正式上市,新车共推出3款配置车型,售价区间为25.98-28.98万元。



原创文章,作者:新智派,如若转载,请注明出处:https://knewsmart.com/archives/328254
比亚迪申请注册腾势N7商标 比亚迪申请注册DENZA N7商标
天眼查知识产权信息显示,近日,比亚迪(002594)申请注册“DENZA N7”商标,国际分类为运输工具,当前商标状态为等待实质审查。
据媒体报道,近日,2025款腾势N7正式上市,新车共推出3款配置车型,售价区间为25.98-28.98万元。



原创文章,作者:新智派,如若转载,请注明出处:https://knewsmart.com/archives/328254