近日,《旅行青蛙》手游官网发布一则停运公告称,由于运营策略调整,《旅行青蛙·中国之旅》VIVO服务器将在4月19日终止运营,玩家可申请退款。据悉,该款游戏国内运营方为广州灵犀互动娱乐有限公司。
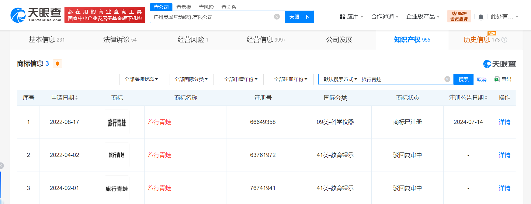
天眼查App显示,广州灵犀互动娱乐有限公司成立于2013年7月,法定代表人为周炳枢,注册资本1000万人民币,经营范围含数字内容制作服务、动漫游戏开发、信息技术咨询服务、软件开发、网络技术服务、互联网销售等,由阿里巴巴旗下广州灵犀互娱信息技术有限公司全资持股。知识产权信息显示,2022年,该公司曾申请注册三枚“旅行青蛙”商标,其中2枚已被驳回,1枚已注册成功。



原创文章,作者:新智派,如若转载,请注明出处:https://knewsmart.com/archives/328441
微信扫一扫