据媒体报道,4月12日下午,“王石被抓”的消息突然刷屏。随后,王石和其妻子田朴珺均发文回应,相关话题引发热议。
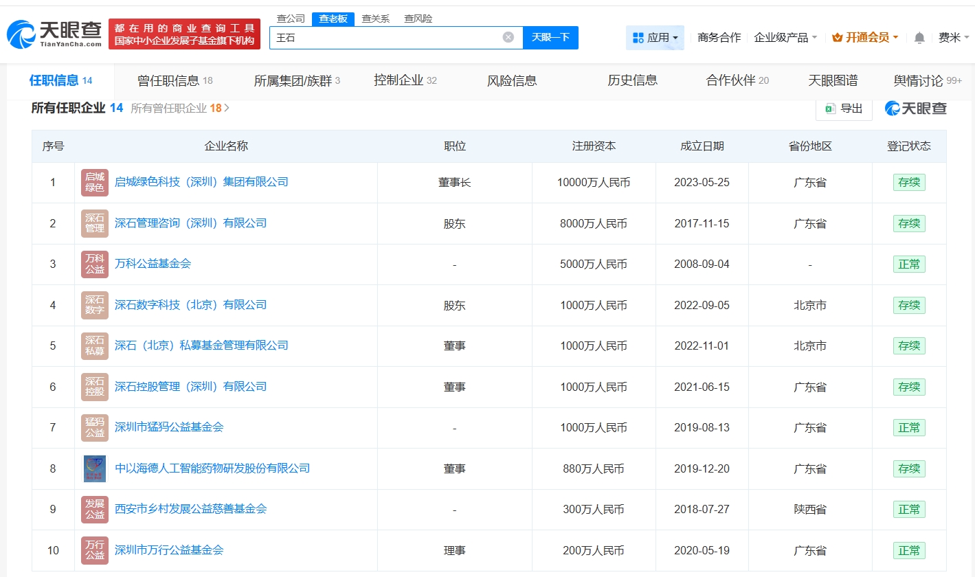
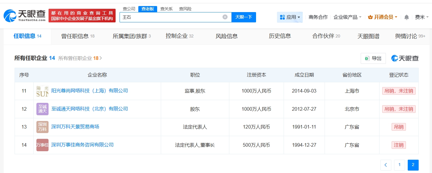
天眼查App显示,王石名下关联10余家企业,其中10家处于存续或者正常状态,包括启城绿色科技(深圳)集团有限公司、深石管理咨询(深圳)有限公司、深石(北京)私募基金管理有限公司等,王石在上述企业担任董事长、董事等职务。


原创文章,作者:新智派,如若转载,请注明出处:https://knewsmart.com/archives/346055
盘点王石商业版图
据媒体报道,4月12日下午,“王石被抓”的消息突然刷屏。随后,王石和其妻子田朴珺均发文回应,相关话题引发热议。
天眼查App显示,王石名下关联10余家企业,其中10家处于存续或者正常状态,包括启城绿色科技(深圳)集团有限公司、深石管理咨询(深圳)有限公司、深石(北京)私募基金管理有限公司等,王石在上述企业担任董事长、董事等职务。


原创文章,作者:新智派,如若转载,请注明出处:https://knewsmart.com/archives/346055