近日,成都王女士一行人在“FUFU汤泉”泡私汤,竟在池子里发现大量人体粪便,商家负责人承认捞出了粪便,但拒绝任何道歉和赔偿。
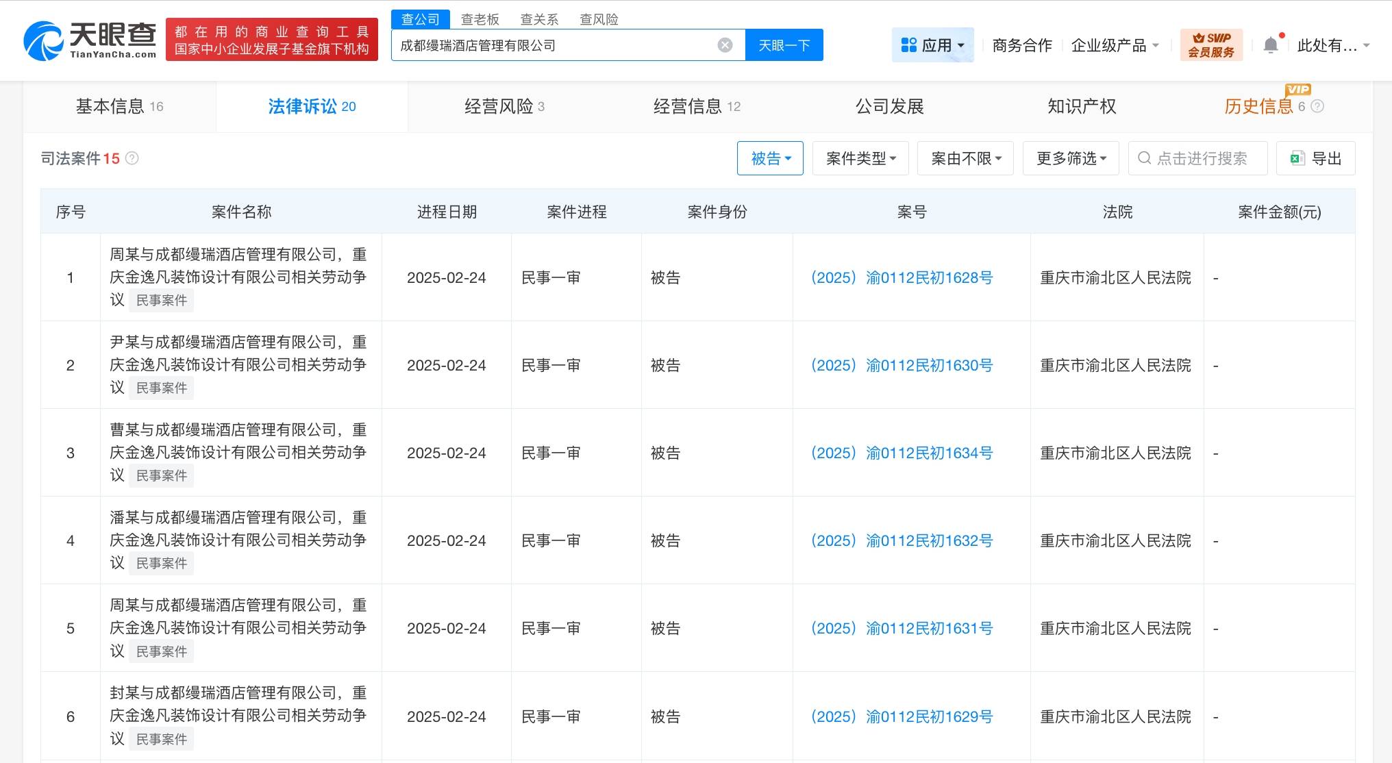
天眼查App显示,FUFU汤泉运营方成都缦瑞酒店管理有限公司成立于2022年4月,法定代表人为郭宏涛,注册资本300万人民币,经营范围含酒店管理、会议及展览服务、企业管理、餐饮管理、洗浴服务、足浴服务等。股东信息显示,该公司由郭宏涛、胡景山、张建杰等共同持股。法律诉讼信息显示,该公司涉及多起诉讼,案由涉及劳动合同纠纷、房屋租赁合同纠纷等。


原创文章,作者:新智派,如若转载,请注明出处:https://knewsmart.com/archives/346280
微信扫一扫