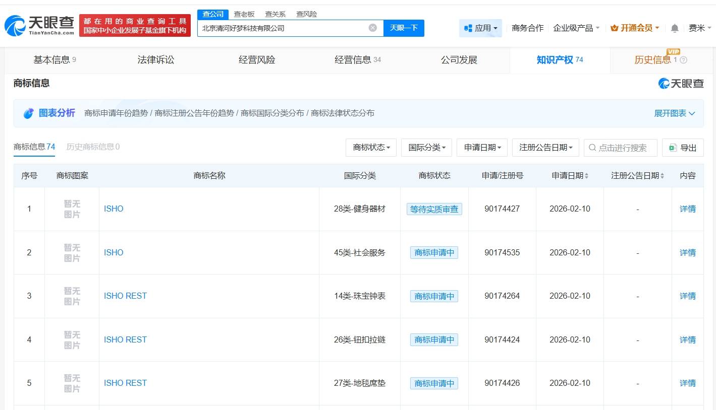
天眼查知识产权信息显示,近日,北京清河好梦科技有限公司申请注册多枚“ISHO”“ISHO REST”商标,国际分类涉及健身器材、社会服务、珠宝钟表等,当前商标状态均为等待实质审查。值得一提的是,今年1月,该公司申请注册多枚“今日宜休”商标,国际分类包括医疗园艺、社会服务、食品等,当前商标状态均为等待实质审查。
该公司成立于2025年12月,法定代表人为王腾,注册资本5万人民币,经营范围包括企业管理咨询、软件开发、信息技术咨询服务等,由王腾、秦牧云共同持股。
据媒体报道,今年3月,今日宜休创始人王腾发长文正式公布其英文品牌名为“ISHO”。




原创文章,作者:新智派,如若转载,请注明出处:https://knewsmart.com/archives/347121
微信扫一扫