“慢脚文化”是近期因快手主播“夜巴黎未成年直播”等事件引爆舆论的热词,实为网友对快手平台低俗猎奇内容生态的戏谑统称,其核心直指未成年人参与的软色情、价值观扭曲等内容乱象。
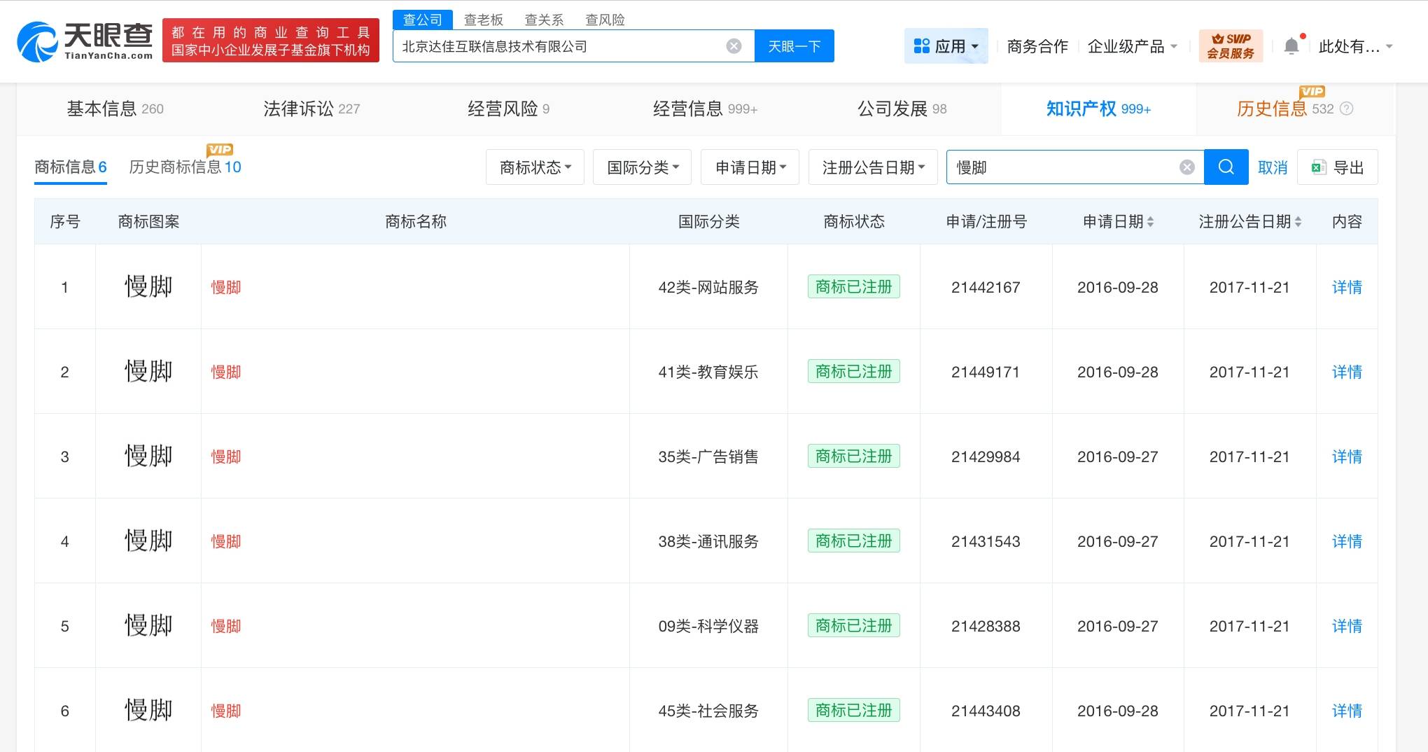
天眼查App显示,快手关联公司北京达佳互联信息技术有限公司成立于2014年7月,法定代表人为杨远熙,注册资本60亿美元,经营范围含计算机软硬件及辅助设备零售、数据处理服务、动漫游戏开发、专业设计服务、社会经济咨询服务、信息咨询服务等,由福永环球有限公司全资持股。值得一提的是,2016年9月,该公司申请多枚“慢脚”商标,上述商标已于2017年注册成功。风险信息显示,该公司曾涉及多起法律诉讼,案由涉及侵害作品信息网络传播权纠纷、不正当竞争纠纷等。


原创文章,作者:新智派,如若转载,请注明出处:https://knewsmart.com/archives/347206
微信扫一扫