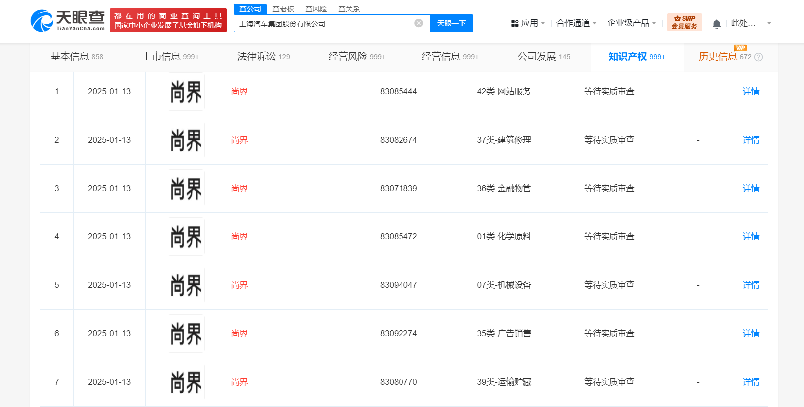
天眼查知识产权信息显示,近日,上海汽车集团股份有限公司申请注册多枚“上汽尚界”“尚界”商标,国际分类为燃料油脂、运输贮藏、机械设备等,当前商标状态均为等待实质审查。
据媒体报道,“界字系”是华为鸿蒙智行与车企合作的重要商标,华为在2023年也提交了“尚界”的商标申请,至于上汽此次也提交“尚界”等多个商标,是否与华为合作有关。针对市场传闻,双方都未对外做出回应。


原创文章,作者:新智派,如若转载,请注明出处:https://knewsmart.com/archives/326261
上汽集团申请注册尚界商标 上汽集团申请上汽尚界商标
天眼查知识产权信息显示,近日,上海汽车集团股份有限公司申请注册多枚“上汽尚界”“尚界”商标,国际分类为燃料油脂、运输贮藏、机械设备等,当前商标状态均为等待实质审查。
据媒体报道,“界字系”是华为鸿蒙智行与车企合作的重要商标,华为在2023年也提交了“尚界”的商标申请,至于上汽此次也提交“尚界”等多个商标,是否与华为合作有关。针对市场传闻,双方都未对外做出回应。


原创文章,作者:新智派,如若转载,请注明出处:https://knewsmart.com/archives/326261