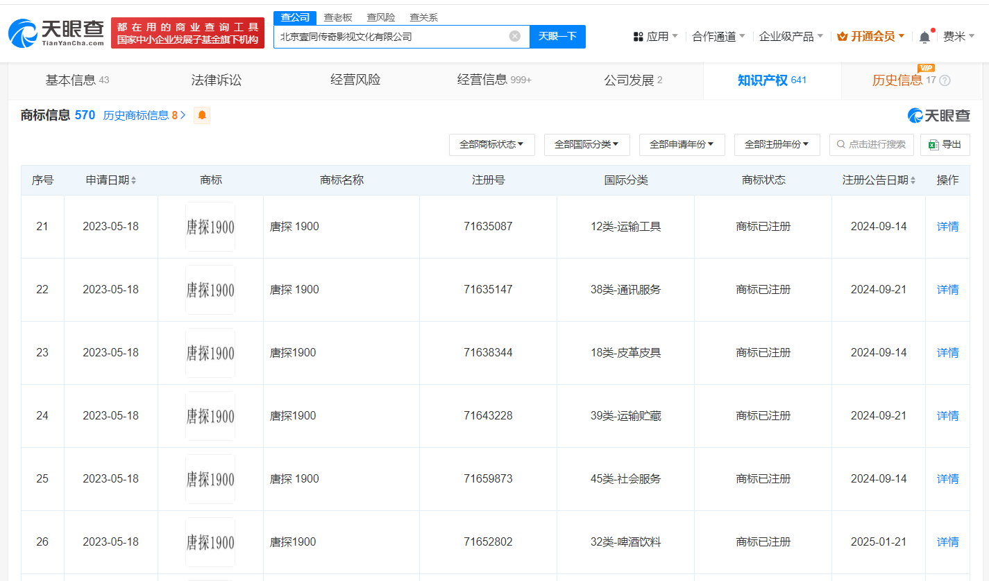
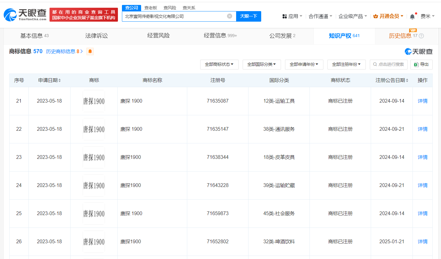
天眼查知识产权信息显示,近日,电影《唐探1900》出品方北京壹同传奇影视文化有限公司登记“电影《唐探1900》主题插画系列”“电影《唐探1900》Q版造型系列”等多款美术作品著作权。值得一提的是,该公司已成功注册多枚“唐探 1900”商标,国际分类含运输工具、通讯服务、皮革皮具等。
北京壹同传奇影视文化有限公司成立于2019年6月,法定代表人为陈胜奇,注册资本850万人民币,经营范围含组织文化艺术交流活动、电影制片、电影摄制服务、文艺创作、文化娱乐经纪人服务、广告发布等,由北京壹同视界管理咨询有限公司、壹同星诚(天津)企业管理合伙企业(有限合伙)、上海万视可达影视文化传媒有限公司、陈思成共同持股。




原创文章,作者:新智派,如若转载,请注明出处:https://knewsmart.com/archives/326262
微信扫一扫