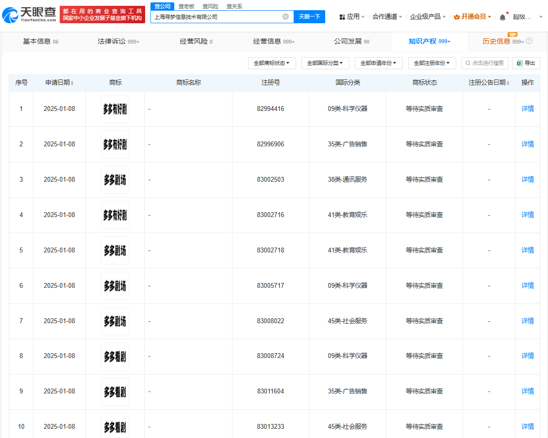
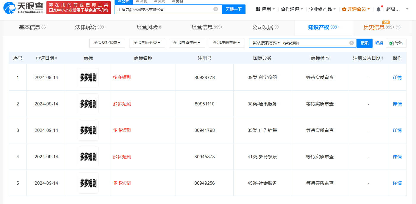
天眼查App显示,近期,拼多多关联公司上海寻梦信息技术有限公司申请注册多枚“多多剧场”“多多有好剧”“多多看剧”商标,国际分类涉及教育娱乐、广告销售、科学仪器等,当前商标状态均为等待实质审查。值得注意的是,2024年9月,该公司还申请注册了多枚“多多短剧”商标。


原创文章,作者:新智派,如若转载,请注明出处:https://knewsmart.com/archives/326438
拼多多申请多多剧场商标 拼多多申请多多有好剧商标
天眼查App显示,近期,拼多多关联公司上海寻梦信息技术有限公司申请注册多枚“多多剧场”“多多有好剧”“多多看剧”商标,国际分类涉及教育娱乐、广告销售、科学仪器等,当前商标状态均为等待实质审查。值得注意的是,2024年9月,该公司还申请注册了多枚“多多短剧”商标。


原创文章,作者:新智派,如若转载,请注明出处:https://knewsmart.com/archives/326438