据报道,2月6日晚间,@小米眼镜 官方微博已经上线,认证主体为小米通讯技术有限公司。
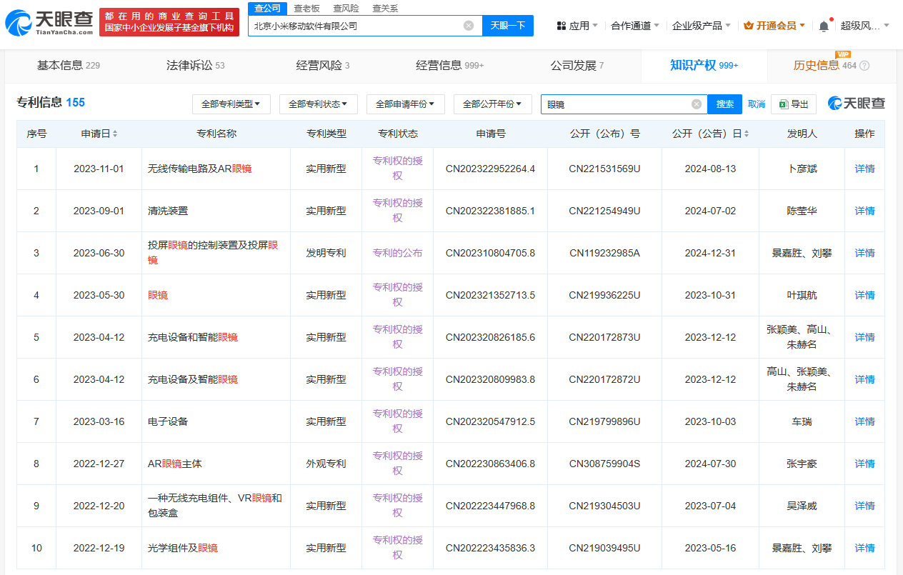
天眼查App显示,小米通讯技术有限公司成立于2010年8月,法定代表人为屈恒,董事长为雷军,注册资本3.2亿美元,由Xiaomi H.K. Limited全资持股。值得注意的是,其全资子公司北京小米移动软件有限公司已获批登记“Xiaomi AR眼镜桌面控制软件”“米家眼镜软件”著作权。此外,该公司还申请了上百项眼镜相关专利,大多数专利申请已获授权,包括“无线传输电路及AR眼镜”“一种无线充电组件、VR眼镜和包装盒”“AR眼镜主体”“AR眼镜交互显示方法、装置、设备及存储介质”等。



原创文章,作者:新智派,如若转载,请注明出处:https://knewsmart.com/archives/326439
微信扫一扫